EasyManua.ls Logo

Panasonic CS-E12JKKW-1 - Refrigeration Cycle Diagram; Cs-E12 Jkkw-1 Cu-E12 Jkk-1

Panasonic CS-E12JKKW-1
116 pages
Print Icon
To Next Page IconTo Next Page
To Next Page IconTo Next Page
To Previous Page IconTo Previous Page
To Previous Page IconTo Previous Page
Loading...
16
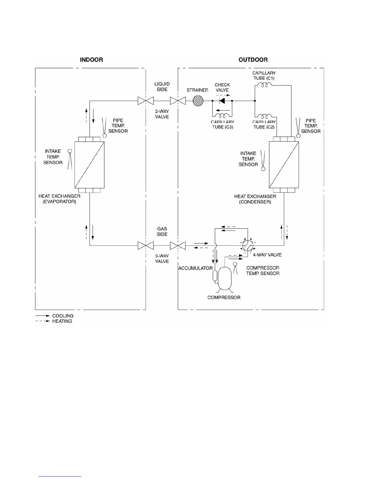
6. Refrigeration Cycle Diagram
6.1 CS-E12JKKW-1 CU-E12JKK-1

Table of Contents

Related product manuals