EasyManua.ls Logo

Panasonic CS-PC18QKH - 6 Refrigeration Cycle Diagram

Panasonic CS-PC18QKH
115 pages
To Next Page IconTo Next Page
To Next Page IconTo Next Page
To Previous Page IconTo Previous Page
To Previous Page IconTo Previous Page
Loading...
21
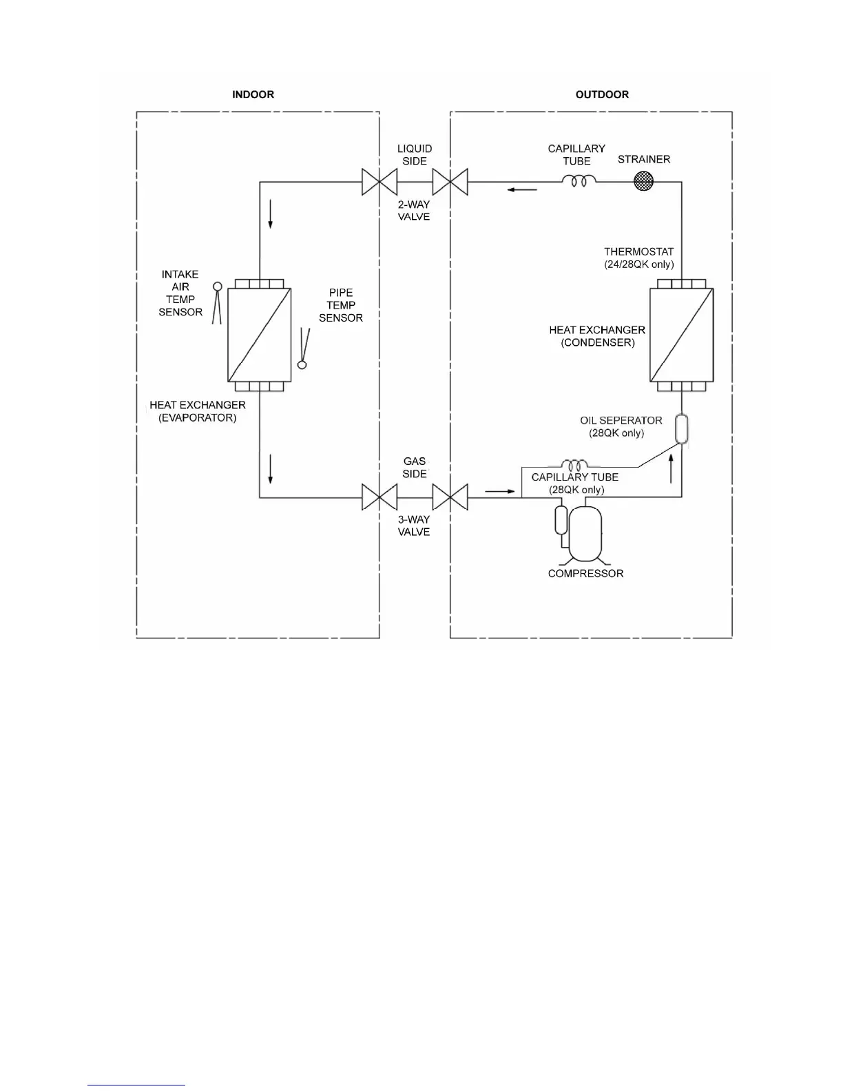
6. Refrigeration Cycle Diagram

Table of Contents

Other manuals for Panasonic CS-PC18QKH

Related product manuals