EasyManua.ls Logo

Panasonic CU-A125KE - Heating Mode Features; Hot Start and Anti Cold Draft Control

Panasonic CU-A125KE
98 pages
Print Icon
To Next Page IconTo Next Page
To Next Page IconTo Next Page
To Previous Page IconTo Previous Page
To Previous Page IconTo Previous Page
Loading...
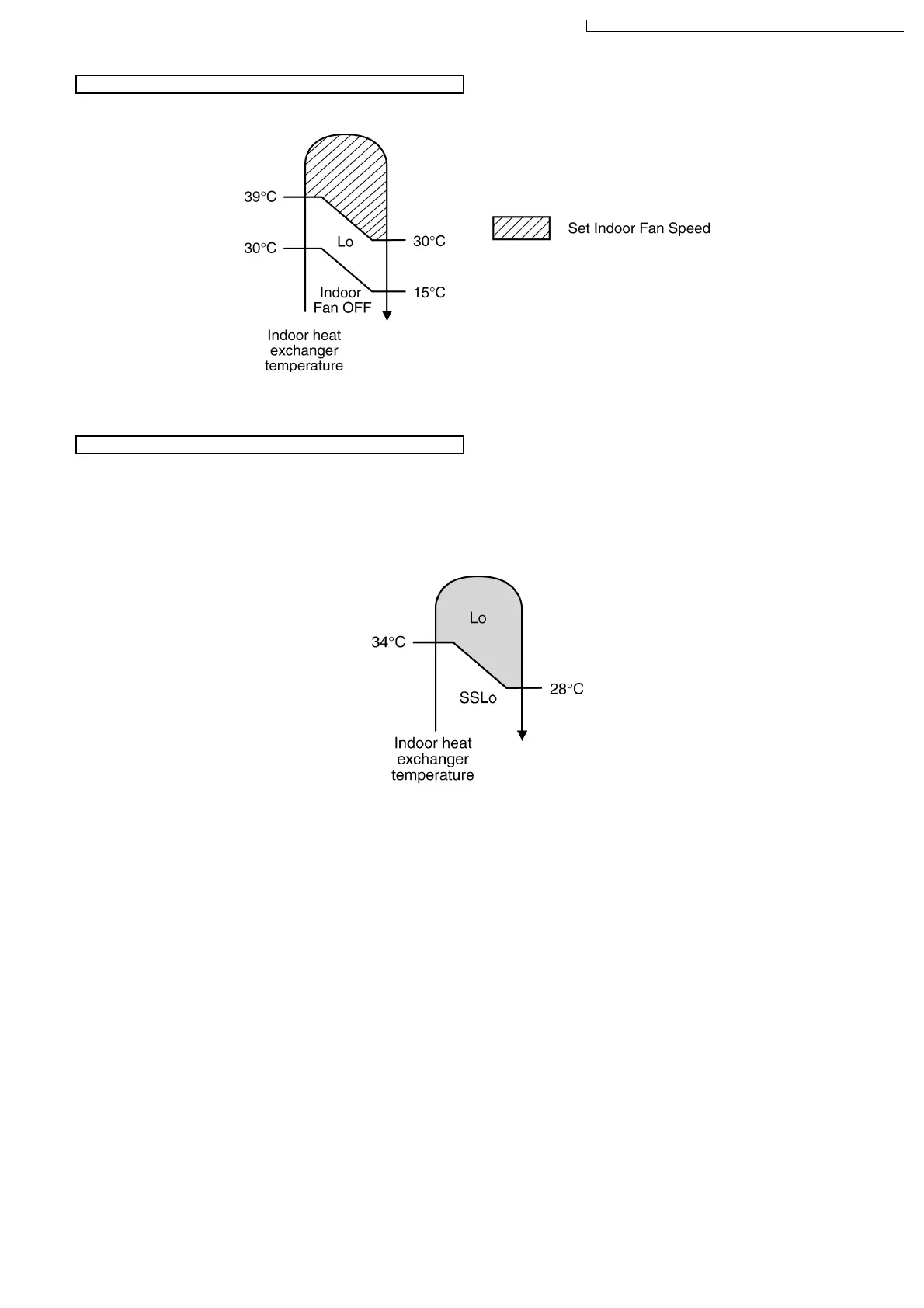
Hot Start Control
Anti Cold Draft Control
When Heating operation starts, Indoor Fan will not start until the indoor heat exchanger reaches 30°C as diagram shown.
Hot Start is completed when indoor heat exchanger rises to 39°C.
This operation is to prevent the Cold Draft during Heating mode operation.
The operation will start when compressor OFF (Thermo OFF) during Heating operation.
For the first 30 sec from compressor OFF (Thermo OFF), Indoor fan speed will operate accordingly to the Indoor heat
exchanger temperature as shown below:
Note: SSLo: Fan will be running at Lo speed with Indoor heat exchanger temperature 1.5 sec ON and 5.5 sec OFF.
After 30 sec. from compressor OFF (thermo OFF), Indoor fan will run at SSLo speed only.
Anti Cold Draft Control will stop when:
Intake temperature < set temperature -1.5°C. (Time Delay Safety Control 4 minutes waiting is valid)
After 30 minutes time saved control.
(see page 22).
23
CS-A75KE CU-A75KE / CS-A95KE CU-A95KE / CS-A125KE CU-A125KE

Table of Contents

Related product manuals