EasyManua.ls Logo

Panasonic CU-E24NKUA - Piping Insulation

Panasonic CU-E24NKUA
82 pages
Print Icon
To Next Page IconTo Next Page
To Next Page IconTo Next Page
To Previous Page IconTo Previous Page
To Previous Page IconTo Previous Page
Loading...
29
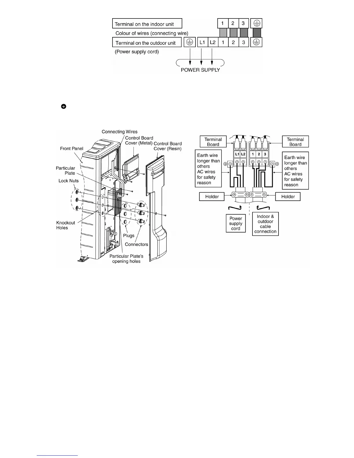
9. Secure the wire onto the control board with the holder (clamper).
10. After completing wiring connections, reattach the particular plate control board cover (metal and resin) and
the original position with the screws.
11. For wire stripping and connection requirement, refer to instruction 11.3.7 of indoor unit.
This equipment must be properly earthed.
Earth lead wire shall be Yellow/Green (Y/G) in colour and longer than other lead wires as shown in the figure for
electrical safety in case of the slipping.
11.4.5 Piping Insulation
1. Please carry out insulation at pipe connection portion as mentioned in Indoor/Outdoor Unit Installation
Diagram. Please wrap the insulated piping end to prevent water from going inside the piping.
2. If drain hose or connecting piping is in the room (where dew may form), please increase the insulation by
using POLY-E-FOAM with thickness 1/4" or above.

Table of Contents

Other manuals for Panasonic CU-E24NKUA

Related product manuals