EasyManua.ls Logo

Panasonic CU-PC24MKF - Vertical Airflow Direction Control; Horizontal Airflow Direction Control; Timer Control

Panasonic CU-PC24MKF
87 pages
Print Icon
To Next Page IconTo Next Page
To Next Page IconTo Next Page
To Previous Page IconTo Previous Page
To Previous Page IconTo Previous Page
Loading...
43
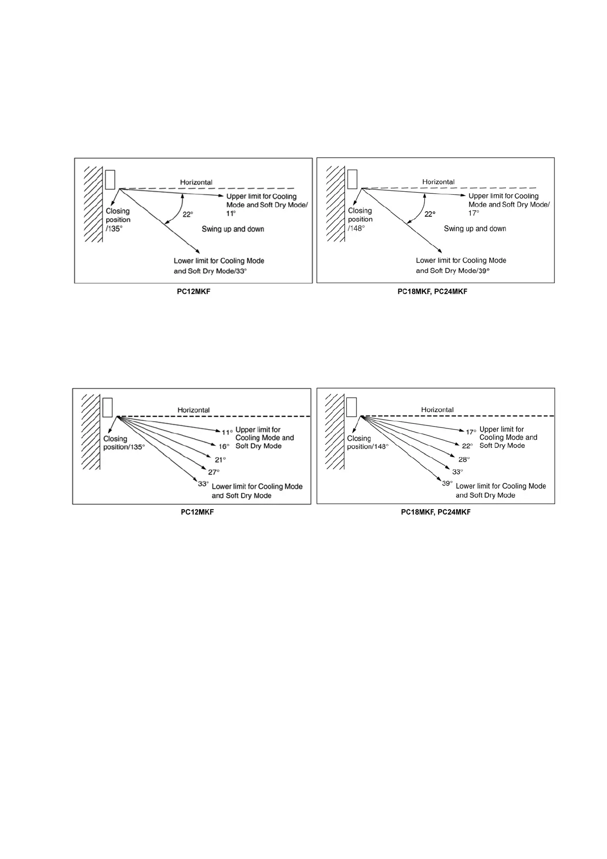
12.6. Vertical Airflow Direction Control
12.6.1. Auto Control
When the vertical airflow direction is set to Auto using the remote control, the louver swings up and down as shown in the
diagram.
When stop operation using the remote control, the discharge vent is reset, and stop at the closing position.
During Cooling operation or Soft Dry operation, indoor fan motor may stop to rotate at certain periods. At that condition, the
louver will stop swinging.
12.6.2. Manual Control
When the vertical airflow direction is set to Manual using the remote control, the automatic airflow is released and the airflow
direction louver move up and down in the range shown in the diagram.
The louver can be adjusted by pressing the button to the desired louver position.
When stop operation using the remote control, the discharge vent is reset, and stop at the closing position.
12.7. Horizontal Airflow Direction Control
The horizontal airflow direction louvers can be adjusted manually by hand.
12.8. Timer Control
12.8.1. ON Timer
When the ON Timer is set by using the remote control, the unit will start to operate slightly before the set time, so that the room
will reach nearly to the set temperature by the set time.
For Cooling and Soft Dry operation, the operation will start 15 minutes before the set time.
For Automatic operation, the indoor fan will operate at SLo speed for 20 seconds, 15 minutes before the set time to detect the
intake air temperature to determine the operation mode. The power LED will blink at this time.
12.8.2. OFF Timer
When the OFF Timer is set by using the remote control, the unit will stop operate according to the desired setting.
Notes:
1. By pressing ON/OFF operation button, the ON Timer or OFF Timer setting will not be cancelled.
2. To cancel the previous timer setting, press CANCEL button.
3. To activate the previous timer setting, press SET button.
4. If main power supply is switched off, the Timer setting will be cancelled.

Table of Contents

Other manuals for Panasonic CU-PC24MKF

Related product manuals