EasyManua.ls Logo

Panasonic CU-PC24MKF - Page 48

Panasonic CU-PC24MKF
87 pages
Print Icon
To Next Page IconTo Next Page
To Next Page IconTo Next Page
To Previous Page IconTo Previous Page
To Previous Page IconTo Previous Page
Loading...
48
ECONAVI & AUTO COMFORT Sensor abnormality check mode
Purpose is to improve sensor serviceability when sensor is malfunction.
1. Control starting condition
When all of the conditions are formed
Not in ECONAVI & AUTO COMFORT Demo mode.
ECONAVI & AUTO COMFORT mode ON.
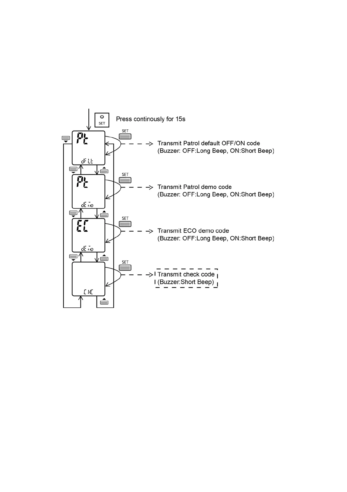
When ECONAVI & AUTO COMFORT sensor check mode signal is received; the procedure of selection is as shown:
- Press “Set” button continuously for 15 seconds by using pointer to enter internal setting mode.
- Press “Timer Decrement" button to select “CHC”.
- Confirm setting by pressing “Timer Set” button, a “beep” sound will be heard.
2. Control ending condition.
When any of the conditions are formed
Operation stops.
“Timer Cancel“ button pressed.
When ECONAVI & AUTO COMFORT sensor check mode signal is not received for more than 30 seconds.
3. Control content
During ECONAVI & AUTO COMFORT mode ON, when check signal is received, if (1) or (2) is detected.
ECONAVI & AUTO COMFORT LED start blinking (ECONAVI & AUTO COMFORT sensor operation
stops but the unit operates as normal) and ECONAVI & AUTO COMFORT sensor abnormal code is memorized
(the 4 times counter is ignored)
The blinking of ECONAVI & AUTO COMFORT LED can be cancelled by pressing ECONAVI & AUTO COMFORT button
again.
Sensor error counter can be cleared only after power supply reset or “AC Reset” button on remote control is pressed.
However, if there is no ECONAVI & AUTO COMFORT sensor abnormally happen, ECONAVI & AUTO COMFORT
sensor operation will continues as normal.

Table of Contents

Other manuals for Panasonic CU-PC24MKF

Related product manuals