EasyManua.ls Logo

Panasonic CU-PW18DKE - Pipe Insulation

Panasonic CU-PW18DKE
76 pages
Print Icon
To Next Page IconTo Next Page
To Next Page IconTo Next Page
To Previous Page IconTo Previous Page
To Previous Page IconTo Previous Page
Loading...
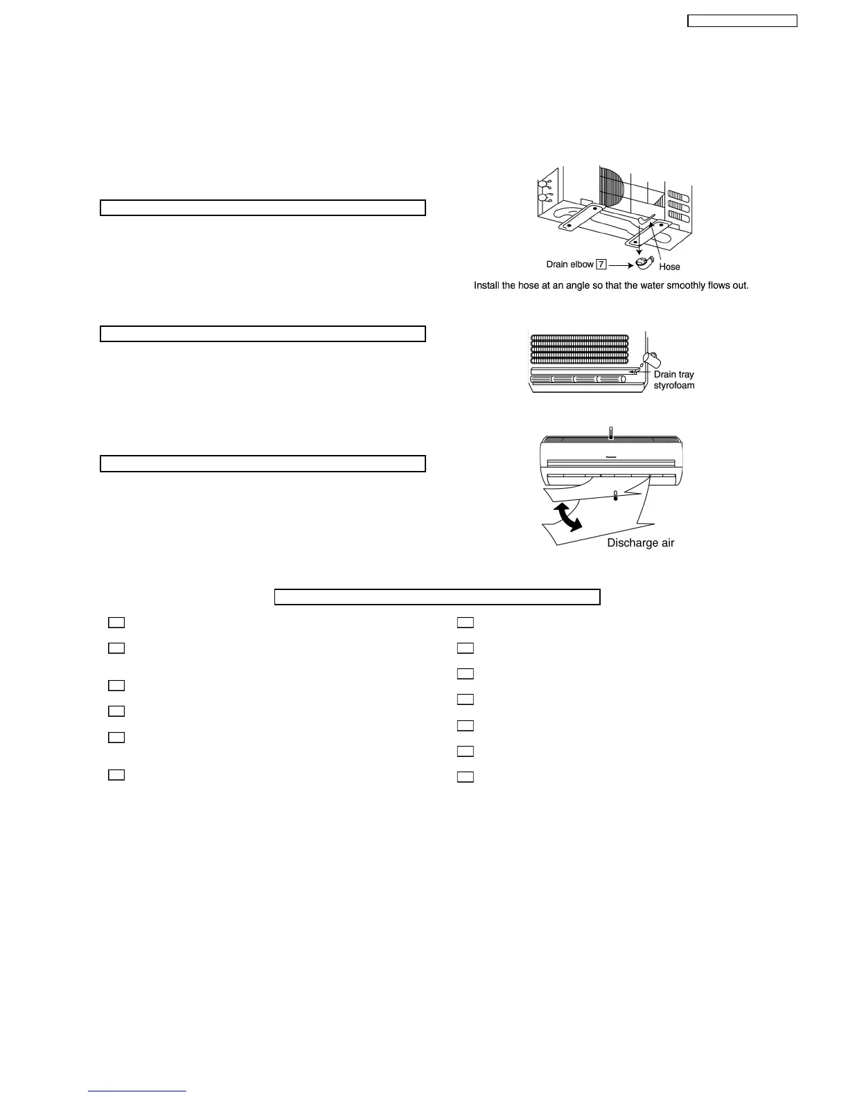
DISPOSAL OF OUTDOOR UNIT DRAIN WATER
If a drain elbow is used, the unit should be placed on a
stand which is taller than 3 cm.
If the unit is used in an area where temperature falls below
0°C for 2 or 3 days in succession, it is recommended not to
use a drain elbow, for the drain water freezes and the fan
will not rotate.
CHECK THE DRAINAGE
Open front panel and remove air filters.
(Drainage checking can be carried out without removing the
front grille.)
Pour a glass of water into the drain tray-styrofoam.
Ensure that water flows out from drain hose of the indoor
unit.
EVALUATION OF THE PERFORMANCE
Operate the unit at cooling operation mode for fifteen
minutes or more.
Measure the temperature of the intake and discharge air.
Ensure the difference between the intake temperature and
the discharge is more than 8°C.
Is there any gas leakage at flare nut connections?
Has the heat insulation been carried out at flare nut
connection?
Is the connecting cable being fixed to terminal board firmly?
Is the connecting cable being clamped firmly?
Is the drainage OK?
(Refer to Check the drainage section)
Is the earth wire connection properly done?
Is the indoor unit properly hooked to the installation plate?
Is the power supply voltage complied with rated value?
Is there any abnormal sound?
Is the cooling operation normal?
Is the thermostat operation normal?
Is the remote controls LCD operation normal?
Is the super alleru-buster filter is installed?
10.3.6. PIPE INSULATION
1. Please carry out insulation at pipe connection portion as mentioned in Indoor/Outdoor Unit Installation Diagram. Please wrap
the insulated piping end to prevent water from going inside the piping.
2. If drain hose or connecting piping is in the room (where dew may form), please increase the insulation by using POLY-E FOAM
with thickness 6 mm or above.
CHECK ITEMS
41
CS-PW18DKE CU-PW18DKE

Table of Contents

Related product manuals