EasyManua.ls Logo

Panasonic DMC-LX7 Lumix - Page 17

Panasonic DMC-LX7 Lumix
28 pages
Print Icon
To Next Page IconTo Next Page
To Next Page IconTo Next Page
To Previous Page IconTo Previous Page
To Previous Page IconTo Previous Page
Loading...
(ENG) VQT4J03 17
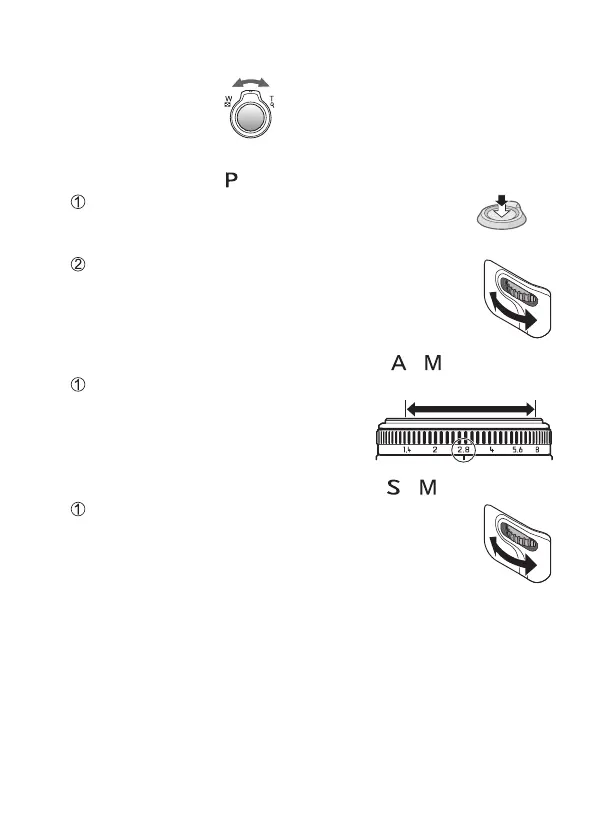
Use the zoom lever to adjust the range of the picture to
be captured
Capture a wider area
(wide-angle)
Enlarge the subject
(telephoto)
Select the combination of shutter speed and aperture
value (Mode dial:
)
Press the shutter button halfway to measure
the exposure
Press halfway
Rotate the rear dial to select the combination
of shutter speed and aperture value
Perform this step while the shutter speed
and aperture value are displayed (about
10 seconds).
Select the aperture value (Mode dial: / )
Rotate the aperture ring to select the aperture value
You can set the aperture values
between [1.4] and [8] in 1/3-stop
increments. (Set the aperture ring
to a click stop.)
Select the shutter speed (Mode dial: / )
Rotate the rear dial to select the shutter speed

Related product manuals