EasyManua.ls Logo

Panasonic FV-0811RF1 - Wiring Diagram; Wiring Diagram FV-0811 RF1; Wiring Diagram FV-0811 RFL1

Panasonic FV-0811RF1
14 pages
Print Icon
To Next Page IconTo Next Page
To Next Page IconTo Next Page
To Previous Page IconTo Previous Page
To Previous Page IconTo Previous Page
Loading...
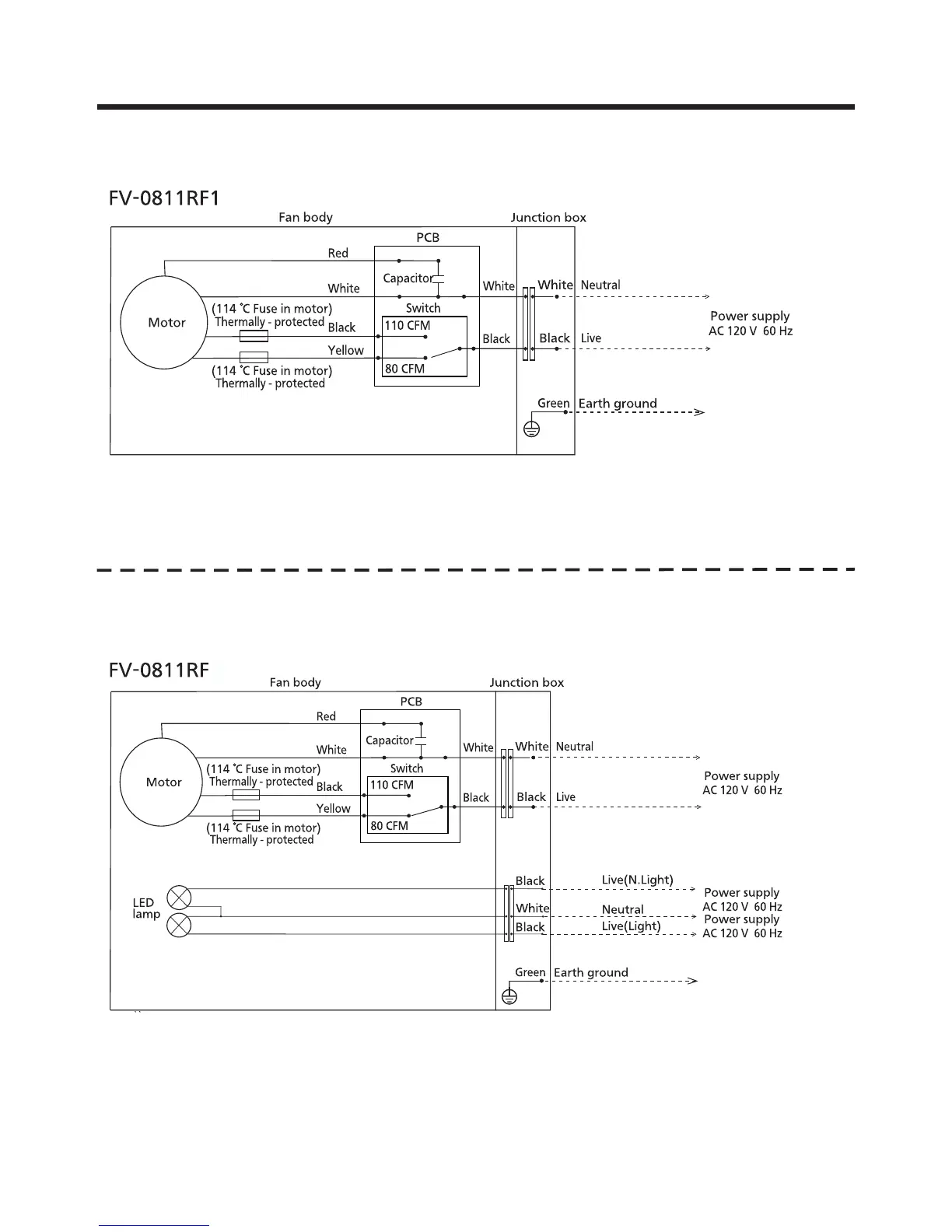
3. Wiring diagram
8
3. Wiring diagram
L1

Related product manuals