EasyManua.ls Logo

Panasonic KT4R

Panasonic KT4R
58 pages
To Next Page IconTo Next Page
To Next Page IconTo Next Page
To Previous Page IconTo Previous Page
To Previous Page IconTo Previous Page
Loading...
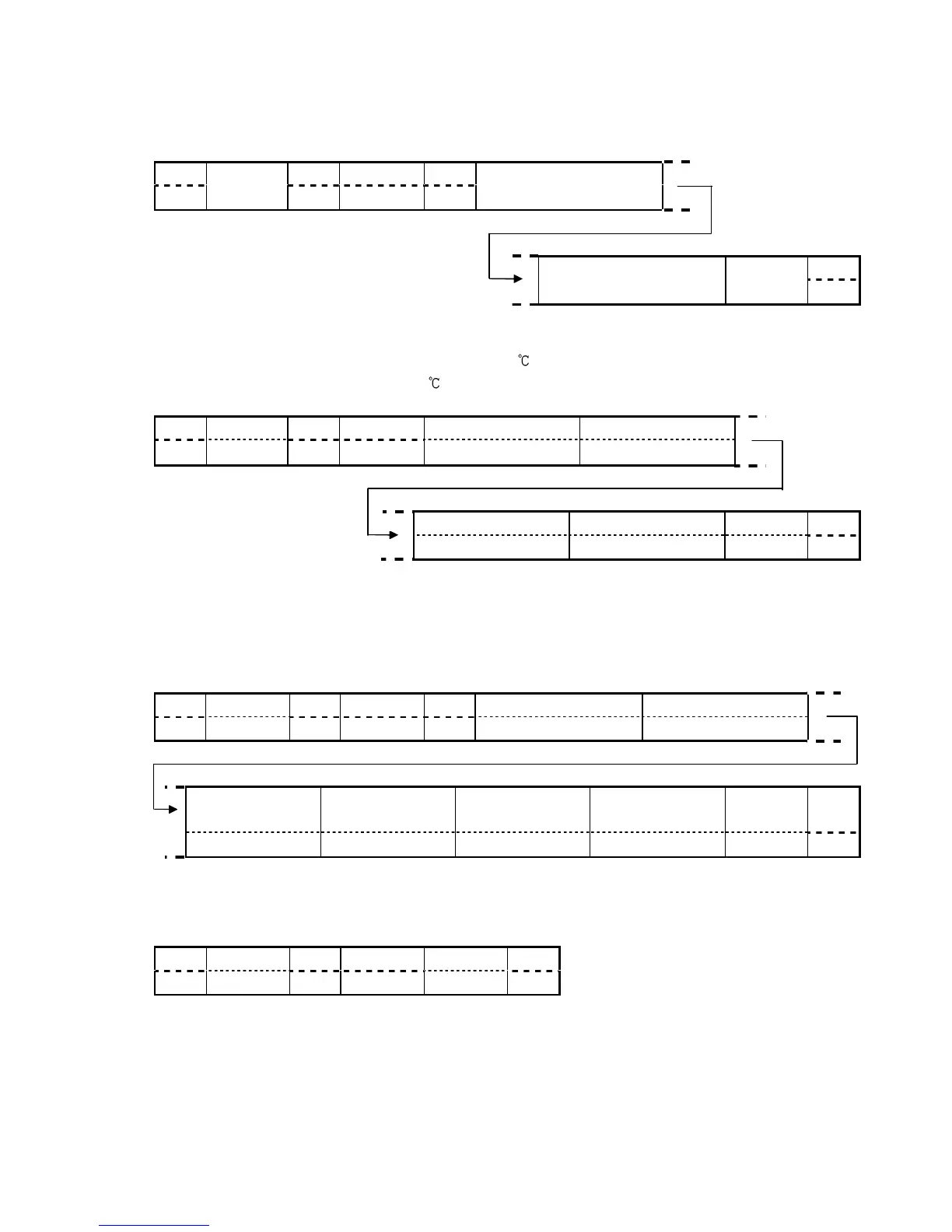
4.6 Command Example
Numerals written above the command represent the number of characters.
4.6.1 Read (Address 1, PV, OUT1 MV, OUT2 MV, Current SV)
Read command from the master
1 2 1 2 1 5
% Address # RD D Starting data No.
25H 30H 31H 23H 52H 44H 44H 30H 30H 33H 35H 36H
0 1 0 0 3 5 6
5 2 1
Ending data No. BCC C
R
30H 30H 33H 35H 39H 35H 41H 0DH
0 0 3 5 9 5 A
A response from the slave in normal status [PV: 600 (0258H), OUT1 MV: 30.0% (012CH),
OUT2 MV: 0.0% (0000H), Current SV: 600 (0258H)]
1 2 1 2 4 4
% Address $ RD Starting data Starting data +1
25H 30H 31H 24H 52H 44H 35H 38H 30H 32H 32H 43H 30H 31H
0 1 5 8 0 2 2 C 0 1
4 4 2 1
Starting data +2 Ending data BCC C
R
30H 30H 30H 30H 35H 38H 30H 32H 36H 36H 0DH
0 0 0 0 5 8 0 2 6 6
4.6.2 Write (Address 1, Input type, Scaling high limit, Scaling low limit, Decimal point place)
Write command from the master [Input type: 4 to 20 mA DC (001EH), Scaling high limit: 1000 (03E8H),
Scaling low limit: 0 (0000H), Decimal point place: 1 digit after decimal point (0001H)]
1 2 1 2 1 5 5
% Address # WD D Starting data No. Ending data No.
25H 30H 31H 23H 57H 44H 44H 30H 30H 31H 30H 32H 30H 30H 31H 30H 35H
0 1 0 0 1 0 2 0 0 1 0 5
4 4 2 1
Write
Starting data
Write
Starting data + 1
Write
Starting data + 2
Write
Ending data
BCC C
R
31H 45H 30H 30H 45H 38H 30H 33H 30H 30H 30H 30H 30H 31H 30H 30H 35H 43H 0DH
1 E 0 0 E 8 0 3 0 0 0 0 0 1 0 0 5 C
A response from the slave in normal status
1 2 1 2 2 1
% Address $ WD BCC C
R
25H 30H 31H 24H 57H 44H 31H 33H 0DH
0 1 1 3

Other manuals for Panasonic KT4R

Related product manuals