EasyManua.ls Logo

Panasonic KX-B620 - Page 43

Panasonic KX-B620
75 pages
Print Icon
To Next Page IconTo Next Page
To Next Page IconTo Next Page
To Previous Page IconTo Previous Page
To Previous Page IconTo Previous Page
Loading...
KX-B620
Series
KX-B520
Series
M10
TG1
INT,
TG2
PAPALL
mw
wo
BP
ww
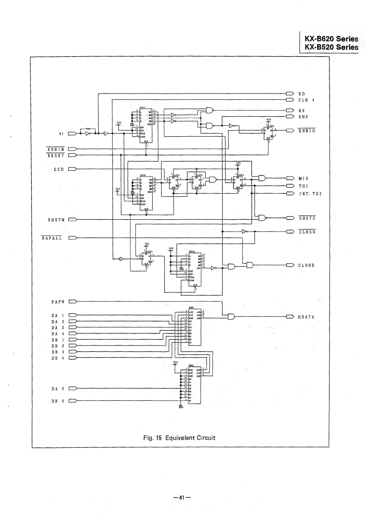
Fig.
15
Equivalent
Circuit

Related product manuals