EasyManua.ls Logo

Panasonic KX-B620 - Sensor Board; Control Board

Panasonic KX-B620
75 pages
Print Icon
To Next Page IconTo Next Page
To Next Page IconTo Next Page
To Previous Page IconTo Previous Page
To Previous Page IconTo Previous Page
Loading...
KX-B620
Series
KX-B520
Series
9-10
Screen
Home
Position
Sensor
Board
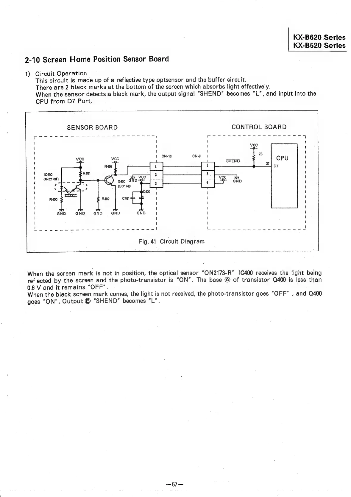
1)
Circuit
Operation
This
circuit
is
made
up
of
a
reflective
type
optsensor
and
the
buffer
circuit.
There
are
2
black
marks
at
the
bottom
of
the
screen
which
absorbs
light
effectively.
When
the
sensor
detects
a
black
mark,
the
output
signal
“SHEND”
becomes
“L”,
and
input
into
the
CPU
from
D7
Port.
SENSOR
BOARD
CONTROL
BOARD
Fp
A
rs
ee
ae
SS
a
|
1C400
ON2173R
Fig.
41
Circuit
Diagram
When
the
screen
mark
is
not
in
position,
the
optical
sensor
“ON2173-R”
{C400
receives
the
light
being
reflected
by
the
screen
and
the
photo-transistor
is
“ON”.
The
base
®
of
transistor
Q400
is
less
than
0.6
V
and
it
remains
“OFF”.
When
the
black
screen
mark
comes,
the
light
is
not
received,
the
photo-transistor
goes
“OFF”
,
and
Q400
goes
“ON”.
Output
“SHEND"”
becomes
“L”.

Related product manuals