EasyManua.ls Logo

Panasonic KX-B620 - Page 45

Panasonic KX-B620
75 pages
Print Icon
To Next Page IconTo Next Page
To Next Page IconTo Next Page
To Previous Page IconTo Previous Page
To Previous Page IconTo Previous Page
Loading...
KX-B620
Series
KX-B520
Series
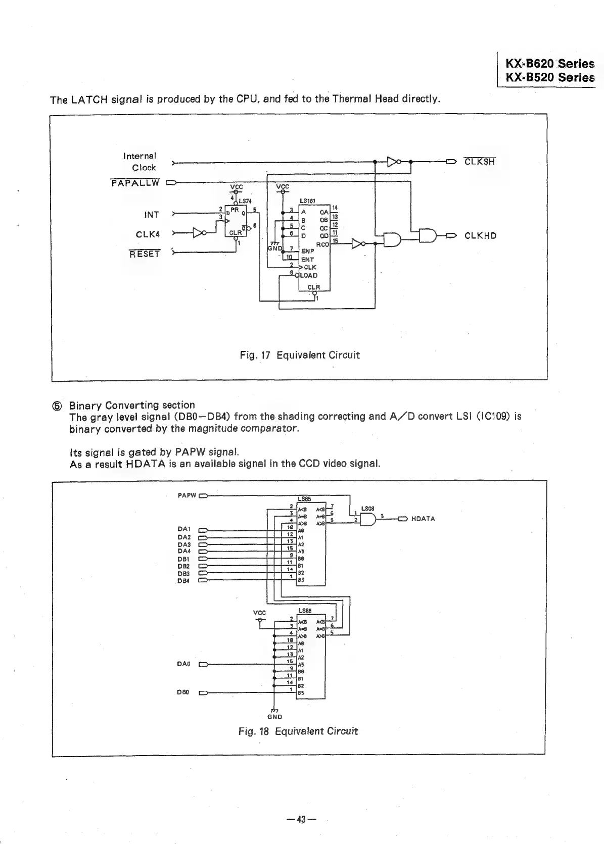
The
LATCH
signal
is
produced
by
the
CPU,
and
fed
to
the
Thermal
Head
directly.
Internal
Clock
PAPALLW
INT
Fig.
17
Equivalent
Circuit
©
Binary
Converting
section
The
gray
level
signal
(DBO—DB4)
from
the
shading
correcting
and
A/D
convert
LSI
(1C109)
is
binary
converted
by
the
magnitude
comparator.
Its
signal
is
gated
by
PAPW
signal.
As
a
result
HDATA
is
an
available
signal
in
the
CCD
video
signal.
Fig.
18
Equivalent
Circuit

Related product manuals