EasyManua.ls Logo

Panasonic KX-FP207FX-S

Panasonic KX-FP207FX-S
232 pages
To Next Page IconTo Next Page
To Next Page IconTo Next Page
To Previous Page IconTo Previous Page
To Previous Page IconTo Previous Page
Loading...
14
KX-FP207FX-S/FP218FX-S
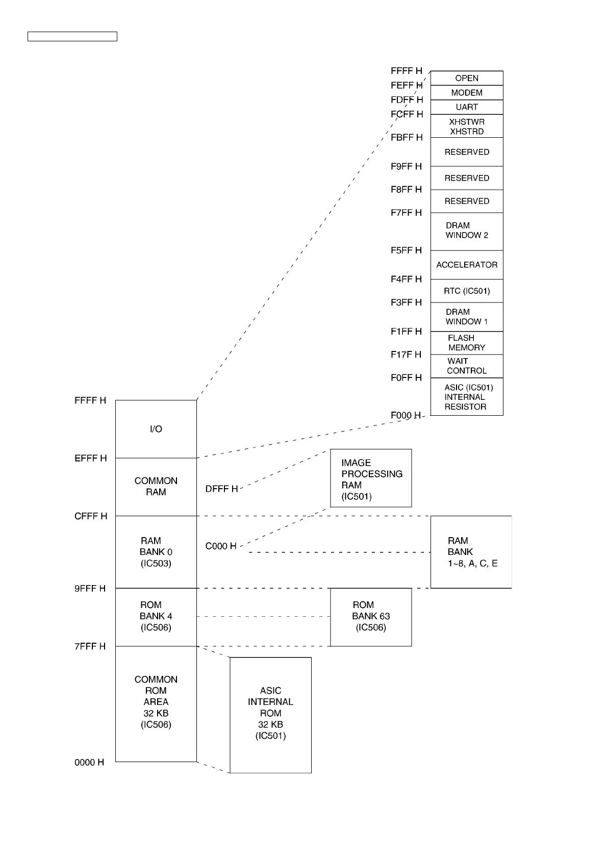
6.3.2. Memory Map

Table of Contents

Related product manuals