EasyManua.ls Logo

Panasonic KX-TCD455E - Using the Telephone

Panasonic KX-TCD455E
56 pages
Print Icon
To Next Page IconTo Next Page
To Next Page IconTo Next Page
To Previous Page IconTo Previous Page
To Previous Page IconTo Previous Page
Loading...
8
Using the Telephone
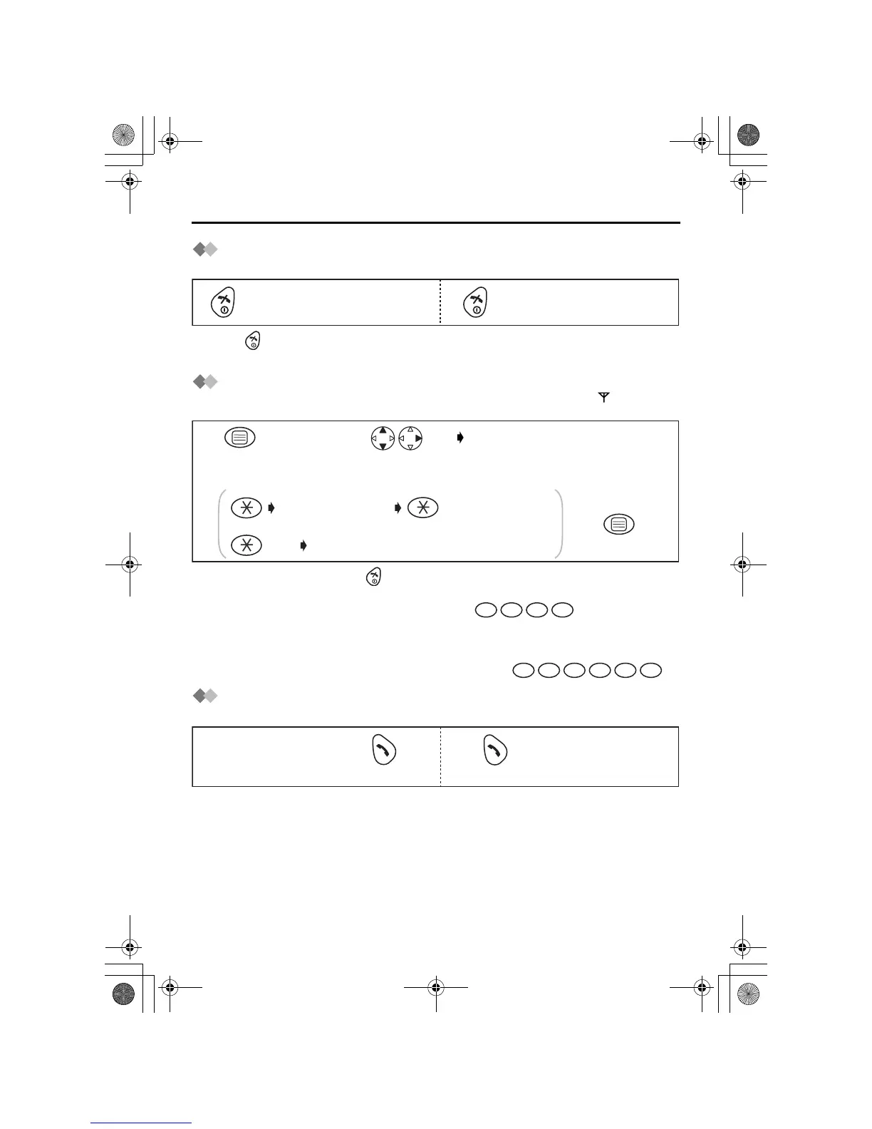
Power On/Off
Power on Power off
*1 When button is released, the display changes to the standby mode.
*2 The display goes blank.
Setting the Clock/Date
After a mains power failure the clock needs to be reset. Ensure that the icon is not
flashing.
To exit the operation, press any time.
*1 You can enter the time in 12 hour clock or 24 hour clock.
For example, to set 7:15 (12 hour clock), press .
If you enter the time in 24 hour clock, go to step 4.
*2 If AM or PM is not selected, display will show 24 hour clock even if the time has been
entered in 12 hour clock.
*3 For example, to set the 16th of February, 2003, press .
Making a Call
Pre-dialling Post-dialling
*1 If you need to make a correction, press CLEAR. The digit is cleared to the left, then
you can enter numbers. All digits are cleared if you press and hold CLEAR.
*2 You can also press SPEAKERPHONE to make a call.
Press for more than
2 seconds. *2
Press for more than
2 seconds. *1
"Input Command"
Press MENU.
Search/Select
"Setting Base".
Press OK.
Time
Enter time. 4-digit.*1 Select AM or PM.*2
Date
Enter day, month then year.*3
1
4
2
3
twice
OR
0 7
1
5
1
6 0 2 0 3
Press TALK.*2
Phone Number
*1
Press TALK.*2
Phone Number
1122
455E.book Page 8 Thursday, March 20, 2003 7:44 PM

Related product manuals