EasyManua.ls Logo

Panasonic MC-7630 - Exploded View (Attachments) [C]-Block; Parts List (Attachments) [C]-Block

Panasonic MC-7630
26 pages
Print Icon
To Next Page IconTo Next Page
To Next Page IconTo Next Page
To Previous Page IconTo Previous Page
To Previous Page IconTo Previous Page
Loading...
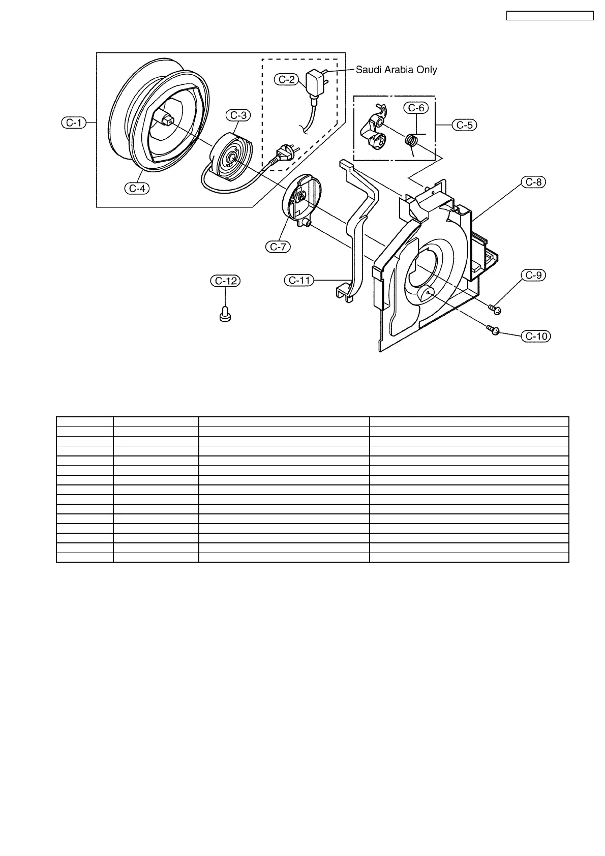
7 EXPLODED VIEW (ATTACHMENTS) [C]-BLOCK
8 PARTS LIST (ATTACHMENTS) [C]-BLOCK
Ref. No. Part No. Part Name & Description Remarks
C-1 AMC99N-UF005 Cord Reel Unit(C-3) Saudi Arabia Only
C-1 AMC99N-UF00C Cord Reel Unit Iran Egypt
C-2 AMC93E-RD005 Power Cord(C-3)W/Rail Base Saudi Arabia Only
C-3 AMC91E-RD00C Power Cord W/Rail Base Iran Egypt
C-4 AMC01N-UF0 Cord Reel
C-5 AMC94N-UF0 Brake Lever (U)
C-6 AMC47N-B80 Brake Spring
C-7 AMC19N-UF005 Contact Base Saudi Arabia Only
C-7 AMC19N-UF0 Contact Base Iran Egypt
C-8 AMC04A-UF0 Body Partition
C-9 XTN4+16BFY Screw (For Contact Base)
C-10 XTN4+16BFY Screw (For Body Partition)
C-11 AMC65N-UH0 Press Lever MC-7650
C-12 CE-230 Wire Connector
11
MC-7650 / MC-7630 / MC-7610

Related product manuals