EasyManua.ls Logo

Panasonic MX-151SG2WTN - Wiring Connection Diagram

Panasonic MX-151SG2WTN
27 pages
Print Icon
To Next Page IconTo Next Page
To Next Page IconTo Next Page
To Previous Page IconTo Previous Page
To Previous Page IconTo Previous Page
Loading...
23
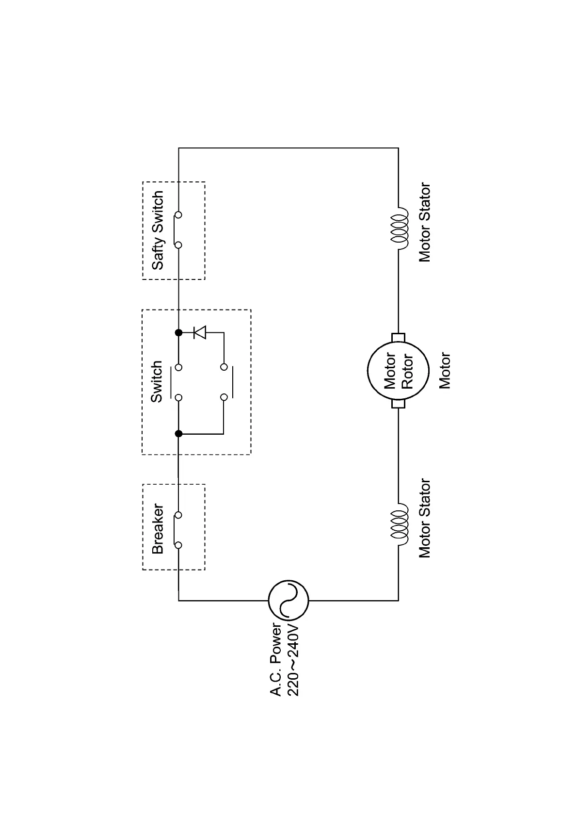
7 Wiring Connection Diagram
7.1. Schematic diagram

Related product manuals