EasyManua.ls Logo

Panasonic NN-S263 - Diagramme des Caractéristiques

Panasonic NN-S263
76 pages
Print Icon
To Next Page IconTo Next Page
To Next Page IconTo Next Page
To Previous Page IconTo Previous Page
To Previous Page IconTo Previous Page
Loading...
8
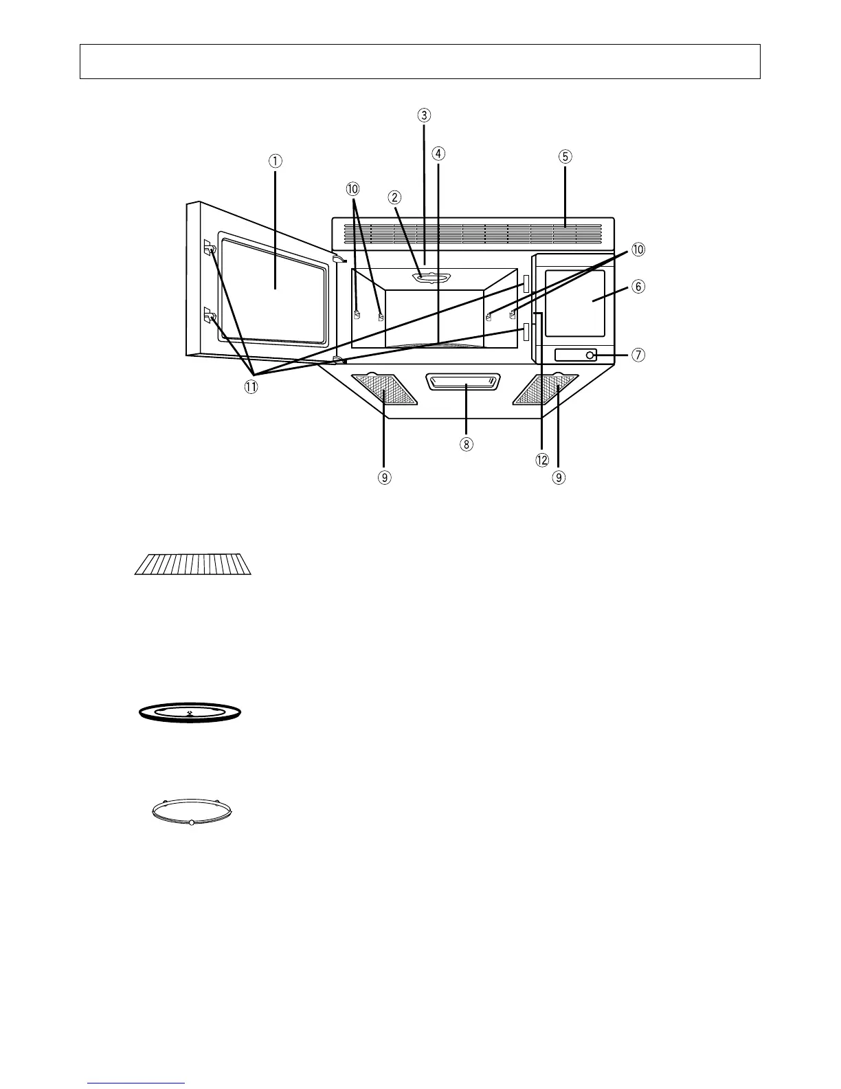
Diagramme des caractéristiques
11
Vitre transparente
22
Couvercle de guide d'ondes (Ne pas enlever)
33
Éclairage du four (L'ampoule peut être remplacée. Voir p. 30)
44
Plateau en verre (Plateau rotatif)
55
Évents d'aération (La grille de ventilation est amovible et peut
être nettoyée. Voir p. 29)
66
Panneau des commandes
77
Levier d'ouverture de la porte
88
Éclairage de la surface de cuisson (L'ampoule peut être
remplacée. Voir p. 30)
99
Filtre à graisses (Le filtre à graisses est amovible et peut être
nettoyé. Voir p. 29)
00
Supports d’étagère (NN-S263 seulement)
--
Verrouillage de sécurité de la porte
==
Plaque signalétique
Étagère
(NN-S263 seulement)
On peut utiliser l’étagère pour la cuis-
son à 2 niveaux, voir p. 23
Plateau en verre
Anneau à galets

Table of Contents

Related product manuals