EasyManua.ls Logo

Panasonic NV-DS60B - Copying on an S-VHS (or a VHS) Cassette (Dubbing)

Panasonic NV-DS60B
64 pages
Print Icon
To Next Page IconTo Next Page
To Next Page IconTo Next Page
To Previous Page IconTo Previous Page
To Previous Page IconTo Previous Page
Loading...
38
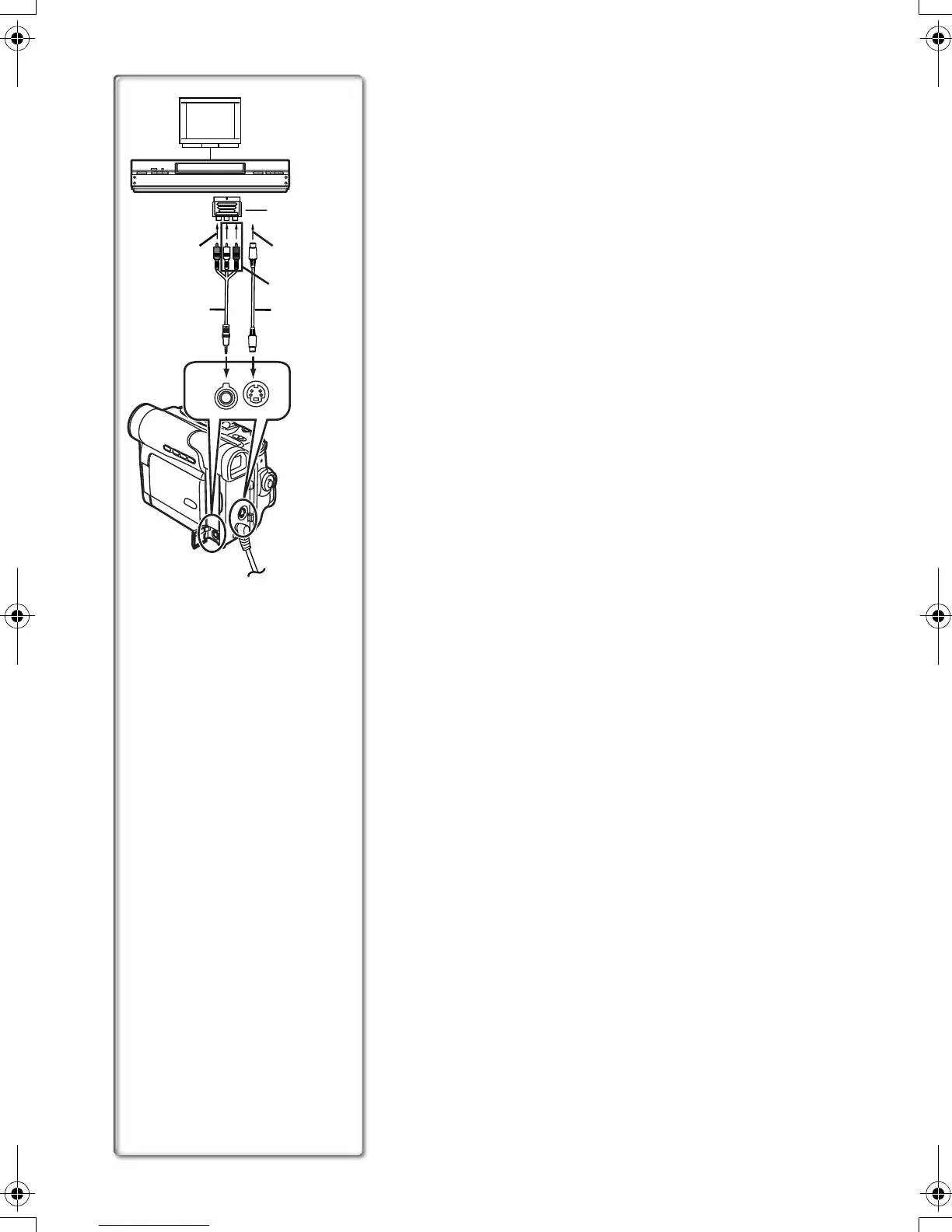
Copying on an S-VHS (or a VHS)
Cassette
(Dubbing)
After connecting the Movie Camera and the VCR as
illustrated at left, start the following procedures.
If your TV is not equipped with AV Input Sockets, the 21-pin
Adaptor (purchase separately) is necessary. Consult your
dealer.
Be sure to press the [OSD] Button (l 10) on the Remote
Controller prior to copying so that no indications are visible.
Otherwise, the displayed tape counter and function indications
are also copied.
Movie Camera:
1 Insert the recorded Cassette.
VCR:
2 Insert an unrecorded Cassette with an erasure
prevention tab.
If various setups (such as external input, tape speed, etc.)
are required, please refer to the operating instructions of
your VCR.
Movie Camera:
3 Press the [1] Button to start playback.
VCR:
4 Start recording.
5 Press the Pause or Stop Button to stop recording.
Movie Camera:
6 Press the [] Button to stop playback.
1 AV Cable
2 S-Video Cable (not supplied)
2, 4, 5
2
[AUDIO IN]
[S-VIDEO IN]
1
[VIDEO IN]
21-pin Adaptor
1, 3, 6
A/V OUT
PHONES
REMOTE
S-VIDEO
B-Eng.book 38 ページ 2003年2月14日 金曜日 午後2時43分

Table of Contents

Related product manuals