EasyManua.ls Logo

Panasonic PV-4601 A - Page 40

Panasonic PV-4601 A
205 pages
To Next Page IconTo Next Page
To Next Page IconTo Next Page
To Previous Page IconTo Previous Page
To Previous Page IconTo Previous Page
Loading...
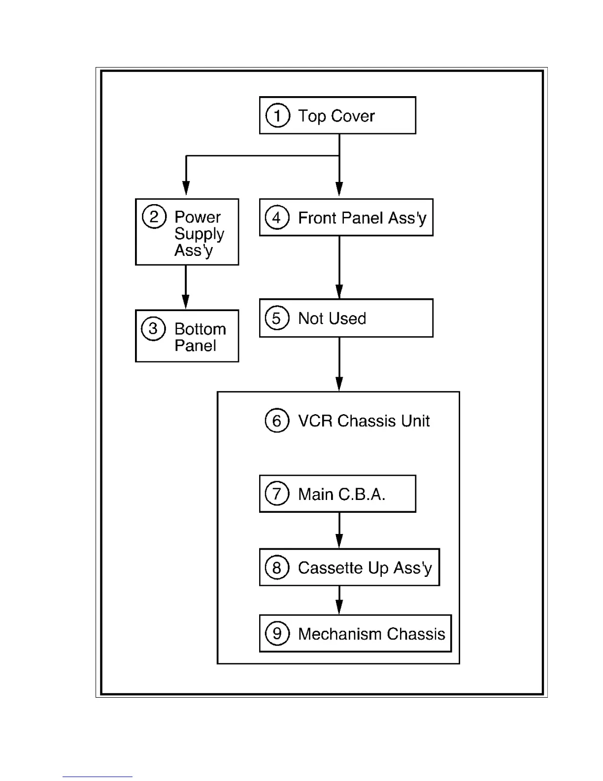
Fig. D1
40

Related product manuals