EasyManua.ls Logo

Panasonic QUASAR PV-C2030W

Panasonic QUASAR PV-C2030W
187 pages
To Next Page IconTo Next Page
To Next Page IconTo Next Page
To Previous Page IconTo Previous Page
To Previous Page IconTo Previous Page
Loading...
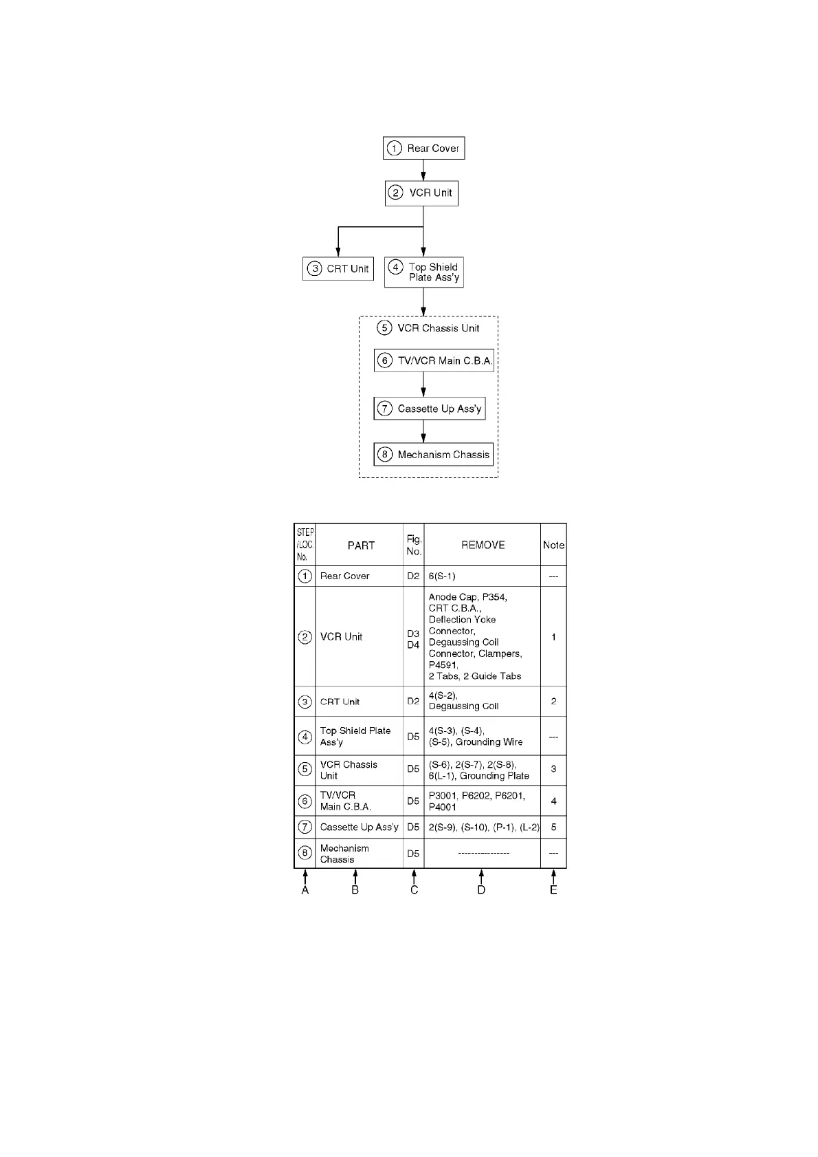
6.1.2. Disassembly Method
How to read chart shown above:
A:Order of Procedure steps.
When reassembling, perform steps(s) in reverse order.
These numbers are also used as the identification (location) No. of parts in Figures.
B: Part to be removed or installed.
C: Fig. No. showing Procedure or Part Location.
D: Identification of part to be removed, unhooked, unlocked, released, unplugged or unsoldered.
23

Related product manuals