EasyManua.ls Logo

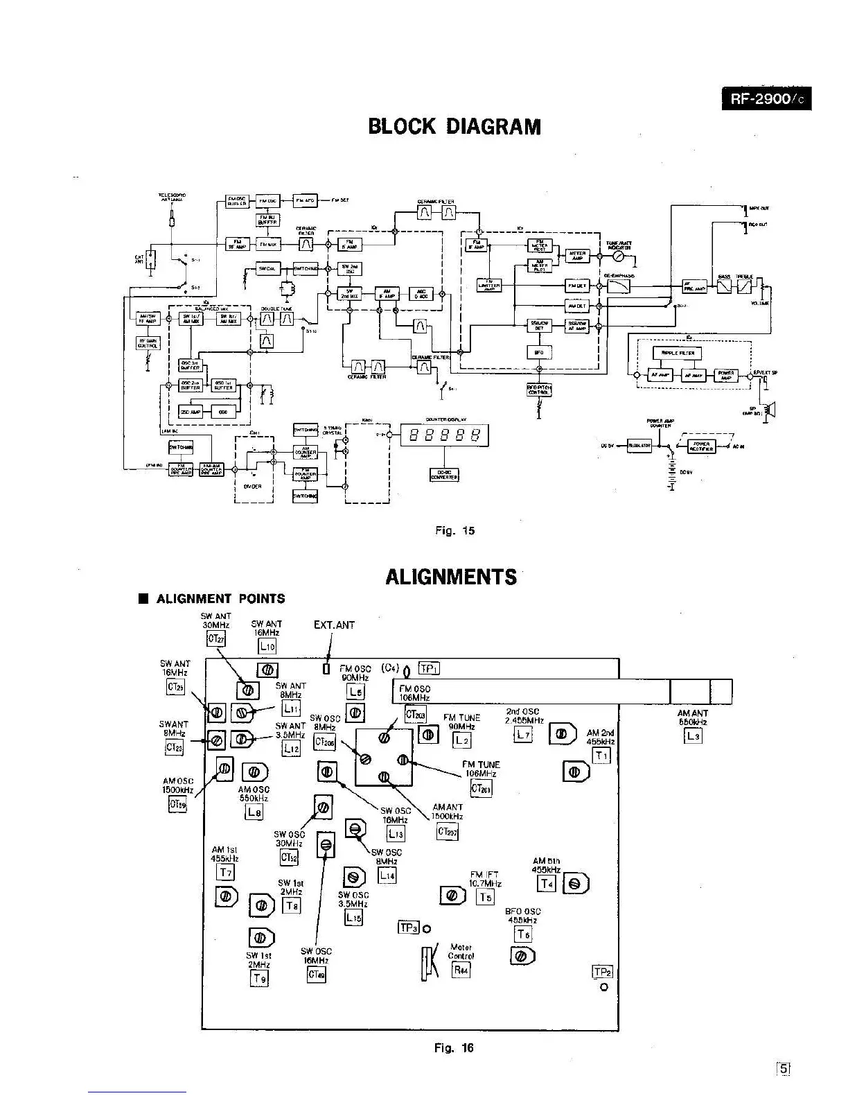
Panasonic RF-2900 - Panasonic RF-2900 Diagrams and Alignments; Radio Block Diagram; Alignment Points Overview

Panasonic RF-2900
18 pages
Print Icon
To Next Page IconTo Next Page
To Next Page IconTo Next Page
To Previous Page IconTo Previous Page
To Previous Page IconTo Previous Page
Loading...

Other manuals for Panasonic RF-2900

Related product manuals