EasyManua.ls Logo

Panasonic RX-D15 - Before Repair and Adjustment

Panasonic RX-D15
71 pages
Print Icon
To Next Page IconTo Next Page
To Next Page IconTo Next Page
To Previous Page IconTo Previous Page
To Previous Page IconTo Previous Page
Loading...
Battery Service Life
UM-1 (D-size) Batteries / Approximately 30 hrs of Tape Recording. (EIAJ) / Approximately 16 hrs
of Tape Playback. (EIAJ) / Approximately 11.5 hrs of CD Recording. (EIAJ) / Approximately 10.5
hrs of CD Playback. (EIAJ)
The battery service life is measured according to the conditions set forth by EIAJ. (Electronic
Industries Association of Japan). As the battery service life varies with the method of operation
and environmental conditions, use these values as reference.
2. Before Repair and Adjustment
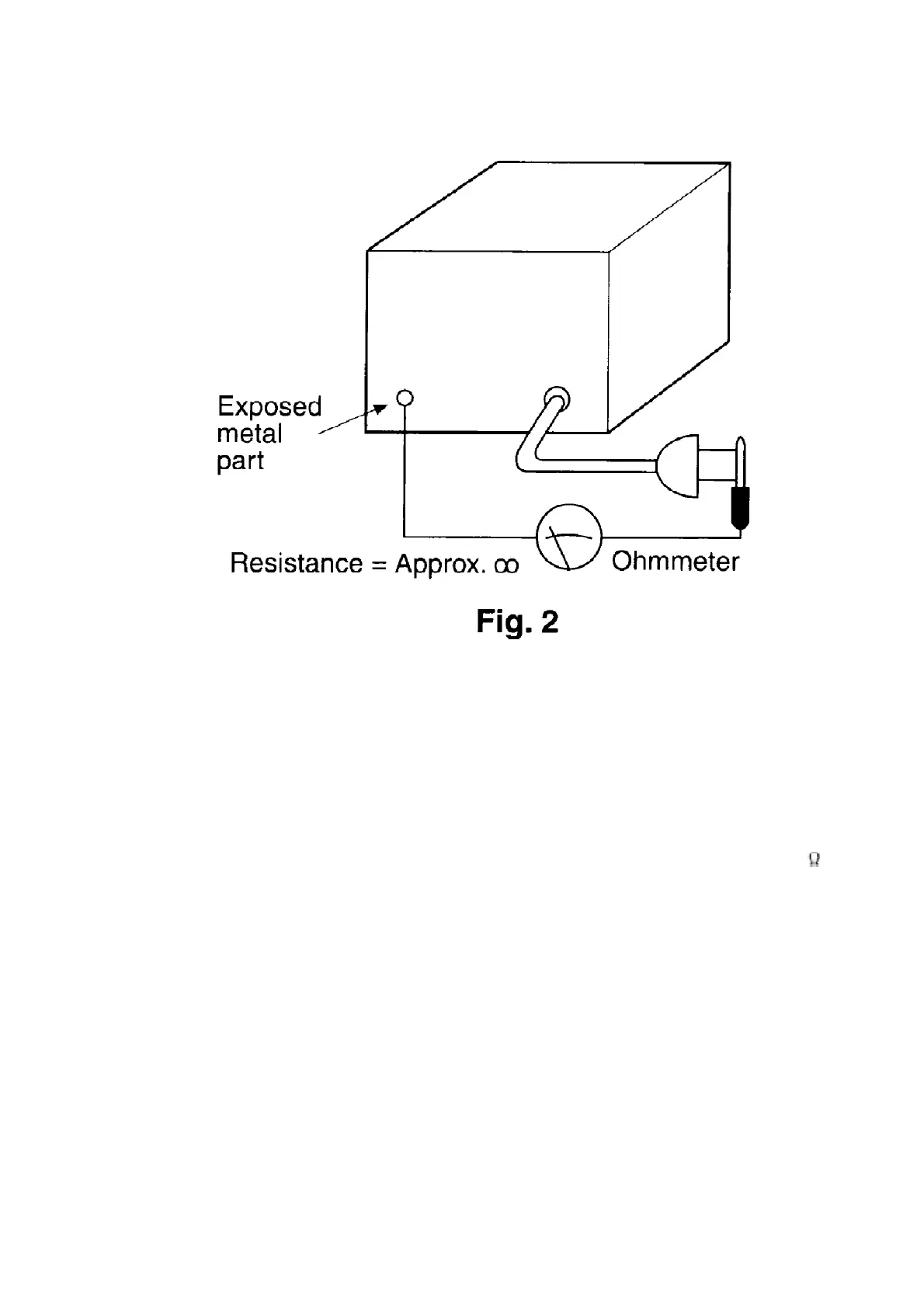
Disconnect AC power, discharge Power Supply Capacitors C120, C220, C317 through a 10 , 5
W resistor to ground. DO NOT SHORT-CIRCUIT DIRECTLY (with a screw driver blade, for
instance), as this may destroy solid state devices.
After repairs are completed, restore power gradually using a variac, to avoid over current.
Current consumption at AC 120 V, 60 Hz in NO SIGNAL mode should be ~75 mA respectively.
3. Protection Circuitry
The protection circuitry may have operated if either of the following conditions are noticed:
- No sound is heard when the power is turned on.
- Stops during a performance.
The function of this circuitry is to prevent circuitry damage if, for example, the positive and
negative speaker connection wires are shorted, or if speaker systems with an impedance less
than the indicated rated impedance of the amplifier are used.
If this occurs, follow the procedure outlines below:

Other manuals for Panasonic RX-D15

Related product manuals