EasyManua.ls Logo

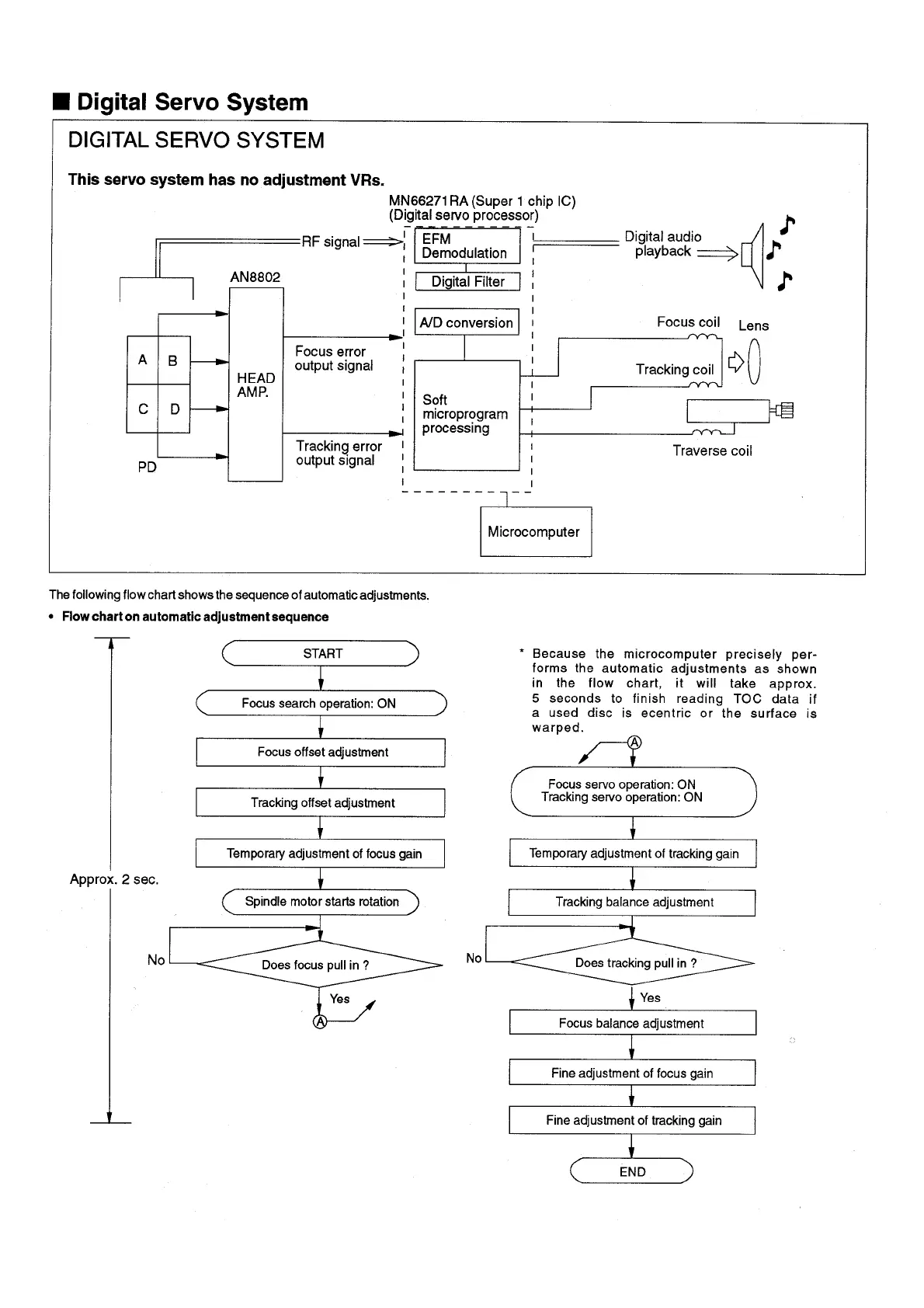
Panasonic SA-CH32 - System Operation and Diagnostics; Digital Servo System

Panasonic SA-CH32
59 pages
Print Icon
To Next Page IconTo Next Page
To Next Page IconTo Next Page
To Previous Page IconTo Previous Page
To Previous Page IconTo Previous Page
Loading...

Related product manuals