EasyManua.ls Logo

Panasonic SB-WA340

Panasonic SB-WA340
33 pages
To Next Page IconTo Next Page
To Next Page IconTo Next Page
To Previous Page IconTo Previous Page
To Previous Page IconTo Previous Page
Loading...
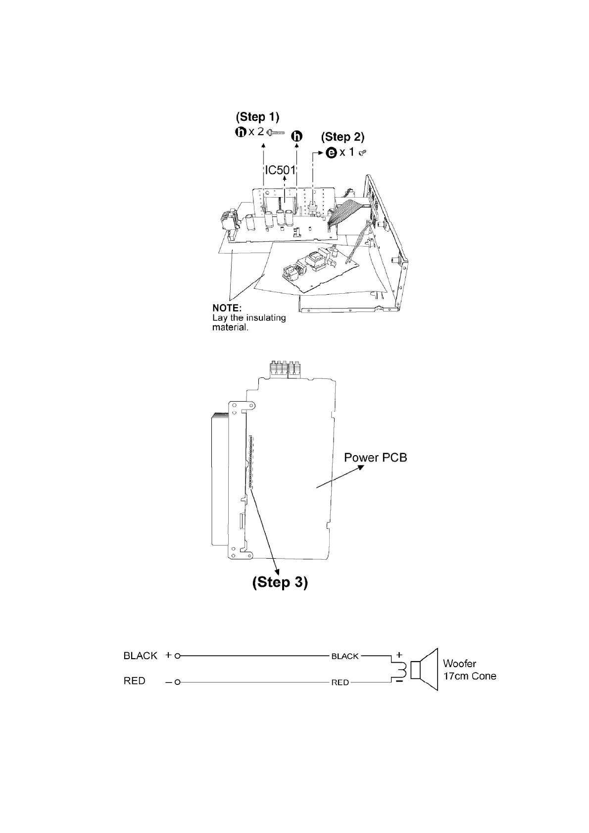
6.2.1. Replacement of the Power IC
Step 1 & 2: Remove all the screws.
Step 3: Desolder the Power IC terminal and replace the component.
7. Connection of the Speaker Wiring
8. Block Diagram
11

Related product manuals