EasyManua.ls Logo

Panasonic SB-WA340

Panasonic SB-WA340
33 pages
To Next Page IconTo Next Page
To Next Page IconTo Next Page
To Previous Page IconTo Previous Page
To Previous Page IconTo Previous Page
Loading...
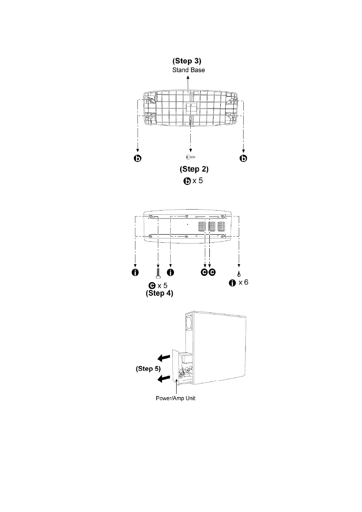
Step 2: Remove all screws.
Step 3: Remove the Stand Base.
Step 4: Remove all screws from the speaker bottom.
Step 5: Pull the Power/Amp Unit as shown.
7

Related product manuals