EasyManua.ls Logo

Panasonic SDR-S7P/PC - Useful Functions; Recording Dates and Times at Travel Destinations (Set World Time)

Panasonic SDR-S7P/PC
116 pages
Print Icon
To Next Page IconTo Next Page
To Next Page IconTo Next Page
To Previous Page IconTo Previous Page
To Previous Page IconTo Previous Page
Loading...
50 VQT1R00
Recording
7
Useful functions
Recording dates and times at travel destinations (set
world time)
By setting your travel destination, the time difference is automatically calculated
and displayed accordingly. Time settings (P.28) must be made first.
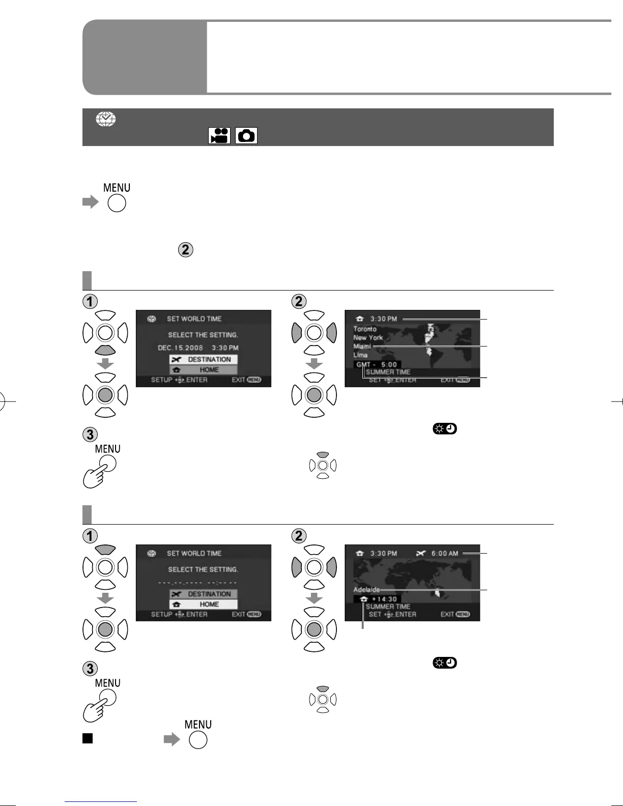
[BASIC][SET WORLD TIME][YES]
When making the setting the very first time, press the center of the cursor
buttons after [SET HOME LOCATION.] appears on the LCD monitor and
proceed to step
in “Setting home city and region”.
Setting home city and region
Select [HOME]. Set your home city and region.
Current time
City/region
name
Difference
from
Greenwich
Mean Time
To set summer time [ ]
(The clock advances by 1 hour.)
(Press again to cancel.)
Close the menu.
Setting the city and region of your travel destination
Select [DESTINATION]. Set city and region.
Current time
at selected
location
City/region
name
Difference from home time
To set summer time [ ]
(The clock advances by 1 hour.)
(Press again to cancel.)
Close the menu.
To cancel

Table of Contents