EasyManua.ls Logo

Panasonic TC-54PS14 - Remove the C1-Board; Remove the C2-Board; Remove the C3-Board; Remove the Plasma Panel Section from the Cabinet Assy (Glass)

Panasonic TC-54PS14
121 pages
To Next Page IconTo Next Page
To Next Page IconTo Next Page
To Previous Page IconTo Previous Page
To Previous Page IconTo Previous Page
Loading...
22
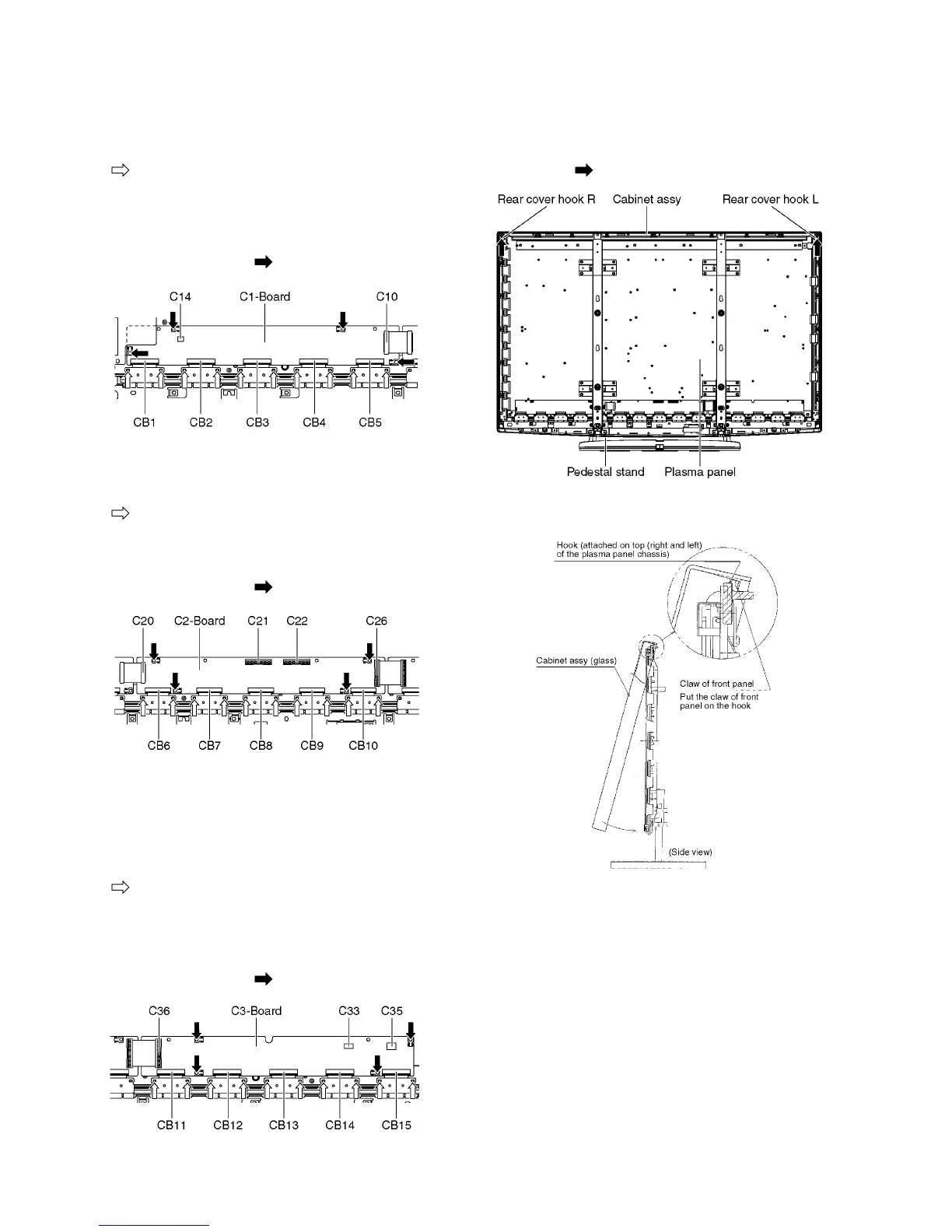
7.15. Remove the C1-Board
1. Remove the Control button unit. (See section 7.7.)
2. Remove the Hanger metal R and the Stand bracket R.
(See section 7.14.)
3. Remove the flexible cables holder fastening screws (×10
).
4. Disconnect the flexible cables (CB1, CB2, CB3, CB4 and
CB5).
5. Disconnect the flexible cable (C10).
6. Disconnect the connector (C14).
7. Remove the screws (×4 ) and remove the C1-Board.
7.16. Remove the C2-Board
1. Remove the flexible cables holder fastening screws (×10
).
2. Disconnect the flexible cables (CB6, CB7, CB8, CB9 and
CB10).
3. Disconnect the flexible cables (C20, C21, C22 and C26).
4. Remove the screws (×4 ) and remove the C2-Board.
7.17. Remove the C3-Board
1. Remove the Tuner unit. (See section 7.4.)
2. Remove the Hanger metal L and the Stand bracket L.
(See section 7.14.)
3. Remove the flexible cables holder fastening screws (×10
).
4. Disconnect the flexible cables (CB11, CB12, CB13, CB14
and CB15).
5. Disconnect the flexible cable (C36).
6. Disconnect the connectors (C33 and C35).
7. Remove the screws (×5 ) and remove the C3-Board.
7.18. Remove the Plasma panel sec-
tion from the Cabinet assy
(glass)
1. Remove the cabinet assy and the plasma panel fastening
screws (×2 ).
2. For leaving the plasma panel from the front frame, pull the
bottom of the cabinet assy forward, lift, and remove.

Table of Contents

Related product manuals