EasyManua.ls Logo

Panasonic TH-C42FD18 - Page 26

Panasonic TH-C42FD18
138 pages
Print Icon
To Next Page IconTo Next Page
To Next Page IconTo Next Page
To Previous Page IconTo Previous Page
To Previous Page IconTo Previous Page
Loading...
26
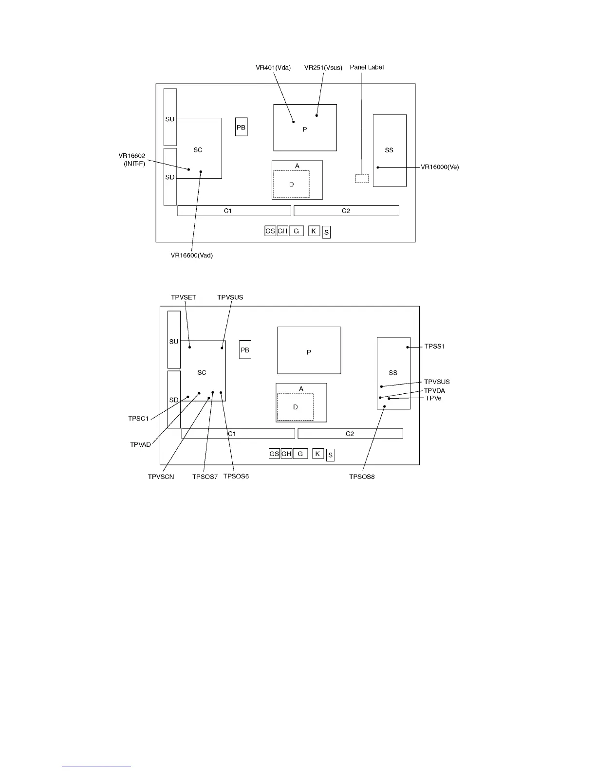
8.1.4. Adjustment Volume Location
8.1.5. Test Point Location

Table of Contents

Related product manuals