EasyManua.ls Logo

Panasonic U-14MF2E8 - Réglage du Flux Dair

Panasonic U-14MF2E8
180 pages
Print Icon
To Next Page IconTo Next Page
To Next Page IconTo Next Page
To Previous Page IconTo Previous Page
To Previous Page IconTo Previous Page
Loading...
23
RÉGLAGE DU FLUX D’AIR
Les fonctions varient en fonction de l’unité intérieure utilisée. La direction du flux d’air ne peut
pas être réglée à l’aide de la télécommande pour les unités listées ci-dessous.
Type Y2, type K2 :
Ne jamais déplacer manuellement le volet contrôlé par la télécommande (volet de
circulation d’air vertical).
Lorsque le climatiseur est mis hors tension, le volet se déplace automatiquement dans le
sens de fermeture.
Le volet (volet de flux d’air vertical) se déplace vers le haut lorsque le climatiseur est mis en
attente chauffage. Le balancement du volet commence à la fin d’attente du chauffage, mais
le balancement est indiqué sur la télécommande même pendant l’attente de chauffage.
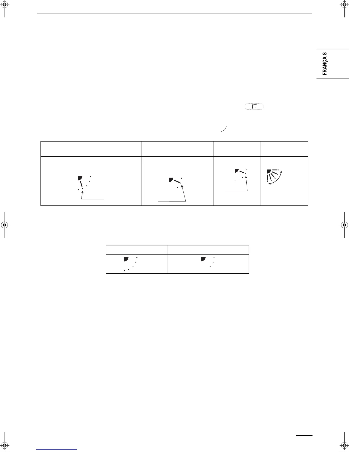
Réglage de la direction
du flux d’air
La direction du flux d’air change chaque fois que le bouton FLAP est appuyé pendant
le fonctionnement.
Pour activer le
balancement
du volet
Appuyez sur le bouton FLAP pour régler le volet (volet de flux d’air vertical) vers le bas, puis
appuyez à nouveau sur le bouton FLAP. Ceci affiche et le flux d’air balaye de haut en bas
et vice versa automatiquement.
Pour arrêter le
balancement
du volet
Appuyez sur le bouton FLAP une nouvelle fois pendant le balancement du volet pour arrêter le
volet dans la position souhaitée. Ensuite, le flux d’air peut être réglé en position supérieure en
appuyant à nouveau sur le bouton FLAP.
Voyant lorsque le balancement est arrêté
Pendant le refroidissement et le séchage, le volet ne s’arrête pas orienté vers le bas. Même si
le bouton FLAP est appuyé pendant le balancement du volet, alors qu’il se trouve orienté vers
le bas pendant le balancement, il ne s’arrête pas jusqu’à ce qu’il se mette dans la troisième
position en partant du haut.
Chauffage Refroidissement et séchage Utilisation du
ventilateur
Toutes opérations
Réglez le volet (volet de flux d’air vertical) vers le
bas. Si le volet est réglé en position haute, l’air
chaud risque de ne pas atteindre le sol.
Le volet (volet de flux d’air vertical)
peut être réglé sur trois positions
différentes.
Réglage initial
Réglage initial
Réglage initial
Fonctionnement
continu
Ventilation et chauffage Refroidissement et séchage
02_F569612_FR.fm Page 23 Wednesday, September 24, 2014 9:41 AM

Table of Contents

Other manuals for Panasonic U-14MF2E8

Related product manuals