EasyManua.ls Logo

Panasonic VDR-M95PP - Page 136

Panasonic VDR-M95PP
144 pages
Print Icon
To Next Page IconTo Next Page
To Next Page IconTo Next Page
To Previous Page IconTo Previous Page
To Previous Page IconTo Previous Page
Loading...
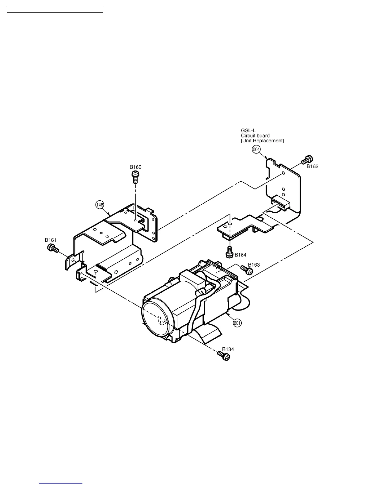
14.5. VDR-M55/M53 Camera
136
VDR-M95PP / VDR-M75PP / VDR-M55PP / VDR-M53PP

Table of Contents

Related product manuals