EasyManua.ls Logo

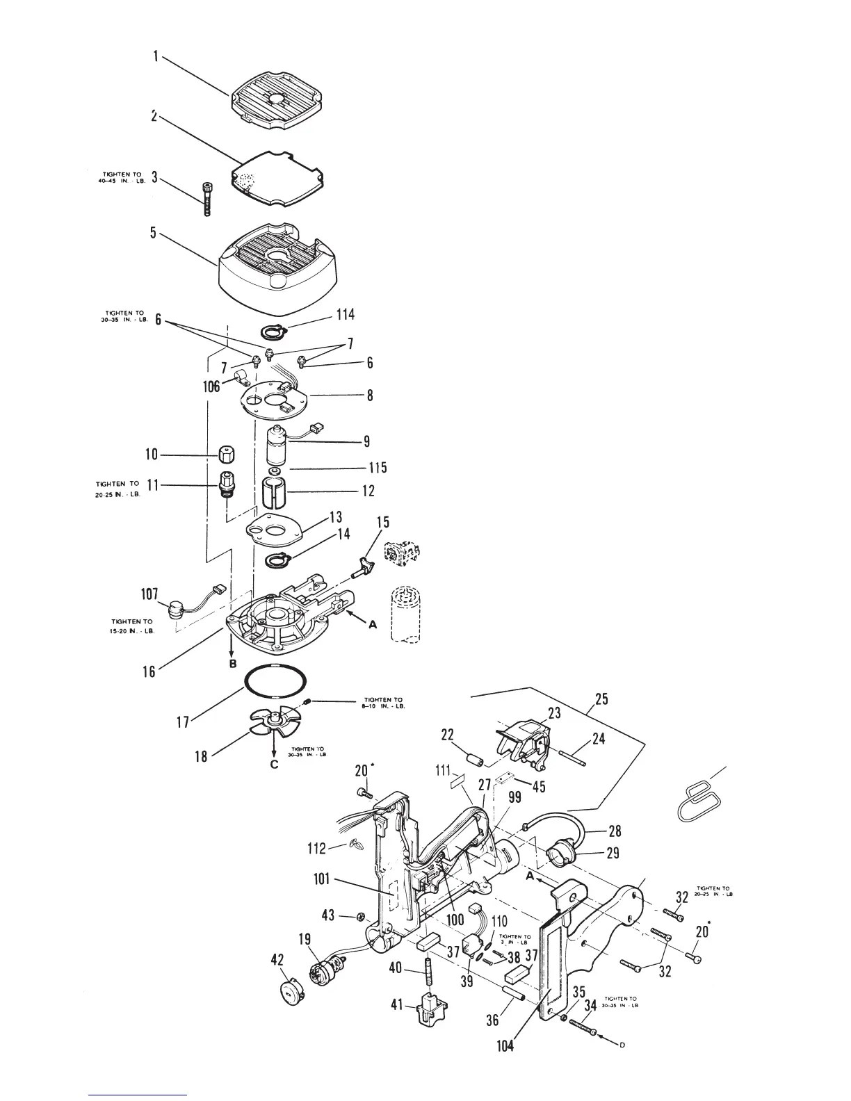
Paslode IM200 - Main Assembly Schematic

Paslode IM200
6 pages
Print Icon
To Next Page IconTo Next Page
To Next Page IconTo Next Page
To Previous Page IconTo Previous Page
To Previous Page IconTo Previous Page
Loading...
33
30

Related product manuals