EasyManua.ls Logo

Paso PA212 - Compensatorcontactbus; Conexión de Zonas; Enchufe del Ecualizador; Verbinding in Zones

Paso PA212
34 pages
Print Icon
To Next Page IconTo Next Page
To Next Page IconTo Next Page
To Previous Page IconTo Previous Page
To Previous Page IconTo Previous Page
Loading...
26 SERIE
CMDSCMDS
CMDSCMDS
CMDS
3.6 COMPENSATORCONTACTBUS
Met de “PRE OUT en “PWR IN” [23] contactbussen kan externe
apparatuur verbonden worden voor de verwerking van versterkte
signalen zoals compensatoren of anti-Larsen processors. Om gebruik
te kunnen maken van deze contactbussen moet de daarin geplaatste
metalen veerstrop verwijderd worden. Er kan ook een extra
vermogensversterker met de PRE OUT contactbus verbonden worden
voor de eventuele uitbreiding van het klankvermogen van de installatie.
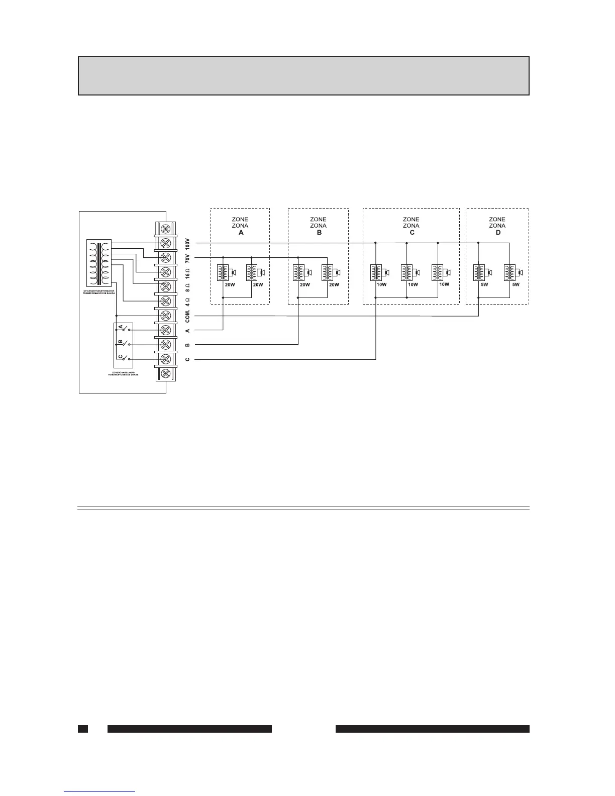
Fig. 3.5.1
3.5 VERBINDING IN ZONES
Het compactsysteem PA212 beschikt over de mogelijkheid drie
verschillende verspreiderzones te kiezen met behulp van de ZONE
SELECTOR” [9] schakelaars. De schakelaars onderbreken de verbinding
met de gewone vermogensuitgang van het apparaat. Voor de
totstandbrenging van meerdere verspreiderzones wordt aangeraden
uitsluitend de uitgangen met een constante spanning van tussen de 70
en 100 V te gebruiken. In fig. 3.5.1 ziet u een voorbeeld van een drie-
zoneverbinding plus een vierde zone die niet uitgesloten kan worden.
3.5 CONEXIÓN DE ZONAS
El sistema compacto PA212 ofrece la posibilidad de seleccionar tres zonas
diferentes de difusión mediante los interruptores ZONE SELECTOR
[9]. Dichos interruptores interrumpen la conexión al terminal común de la
salida de potencia del aparato. Para realizar instalaciones de más de una
zona de difusión se aconseja utilizar exclusivamente las salidas de tensión
constante de 70 y 100 V. En la fig. 3.5.1 se muestra un ejemplo de conexión
de tres zonas más una cuarta zona no excluible.
3.6 ENCHUFE DEL ECUALIZADOR
A los enchufes PRE OUT” yPWR IN” [23] es posible conectar aparatos
exteriores para elaborar la señal amplificada: por ejemplo, ecualizadores
o procesadores antilarsen. Para utilizar dichos enchufes es preciso
quitarles la clavija metálica. Al enchufe “PRE OUT también puede
conectarse un amplificador de potencia suplementario para ampliar las
posibilidades de sonorización de la instalación.
FUNCTIES EN VERBINDINGEN FUNCIONES Y CONEXIONES3

Table of Contents