EasyManua.ls Logo

Perkins 1204F-E44TA - Page 41

Perkins 1204F-E44TA
132 pages
Print Icon
To Next Page IconTo Next Page
To Next Page IconTo Next Page
To Previous Page IconTo Previous Page
To Previous Page IconTo Previous Page
Loading...
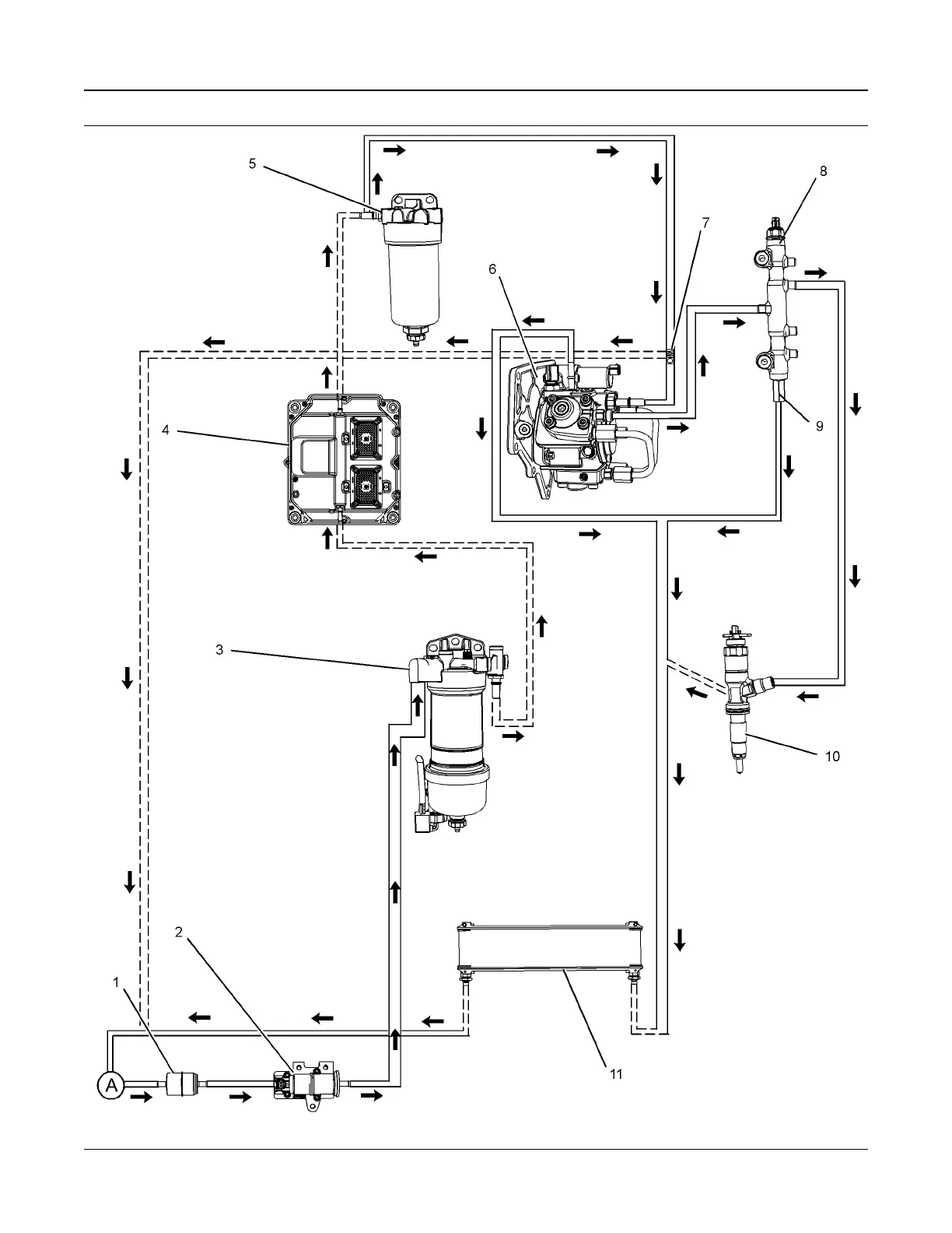
Illustration 33 g03723525
UENR4490-01 41
Engine Operation
This document has been printed from SPI2. NOT FOR RESALE

Table of Contents

Other manuals for Perkins 1204F-E44TA

Related product manuals