EasyManua.ls Logo

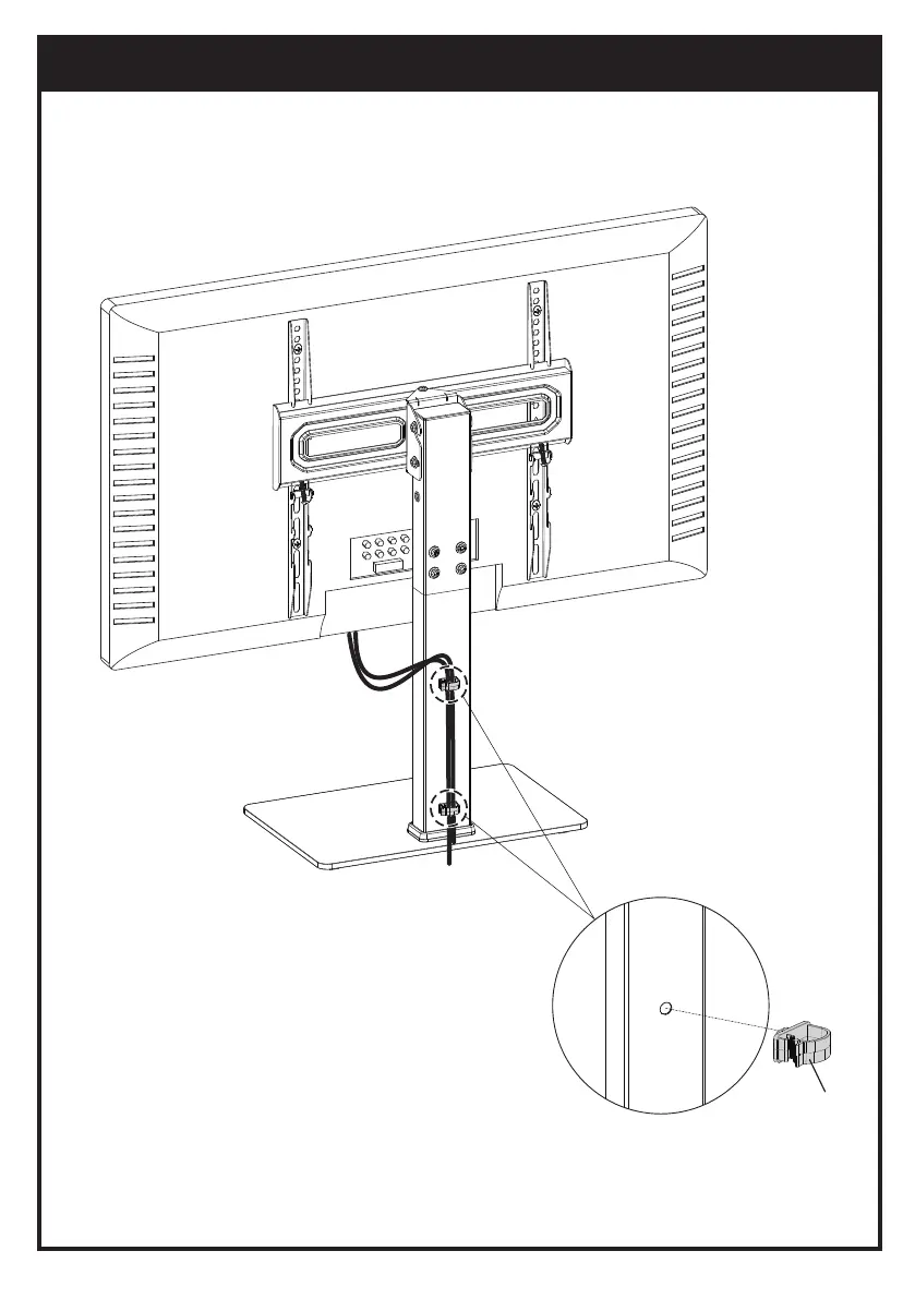
Perlegear PGTVS26 - Step 5: Cable Management; Secure Cables with Clip

Perlegear PGTVS26
15 pages
Print Icon
To Next Page IconTo Next Page
To Next Page IconTo Next Page
To Previous Page IconTo Previous Page
To Previous Page IconTo Previous Page
Loading...
Step 5 Cable Management
· Étape 5 Réglage de l'orientation
H
14

Related product manuals