EasyManua.ls Logo

Perlesmith PSTVMC04 - Step 8: Cable Management

Perlesmith PSTVMC04
20 pages
Print Icon
To Next Page IconTo Next Page
To Next Page IconTo Next Page
To Previous Page IconTo Previous Page
To Previous Page IconTo Previous Page
Loading...
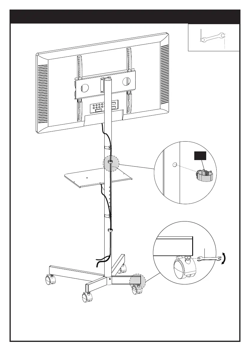
Step 8 Cable Management
NOTE: If the TV cart is not level on the floor, turn the bottom nuts to adjust the caster
levels, then tighten the top nuts to fasten.
10mm
14mm
[Z-E]
10
Lower
Raise
19

Related product manuals