EasyManua.ls Logo

Philips 43PUT6504/56 - Audio IC (AD82072-LG48 NRY) Details

Philips 43PUT6504/56
85 pages
Print Icon
To Next Page IconTo Next Page
To Next Page IconTo Next Page
To Previous Page IconTo Previous Page
To Previous Page IconTo Previous Page
Loading...
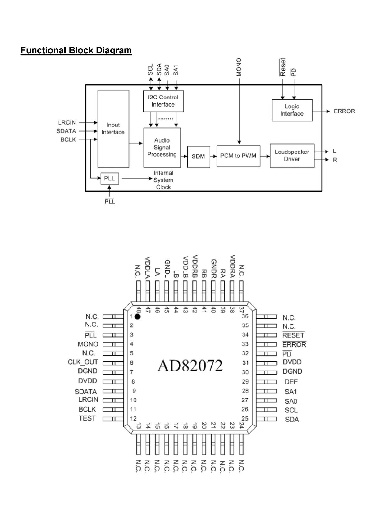
8.2 AD82072-LG48NRY (IC U601--Audio)

Related product manuals