EasyManua.ls Logo

Philips AE5200/05 - Main Unit Overview

Philips AE5200/05
20 pages
Print Icon
To Next Page IconTo Next Page
To Next Page IconTo Next Page
To Previous Page IconTo Previous Page
To Previous Page IconTo Previous Page
Loading...
8
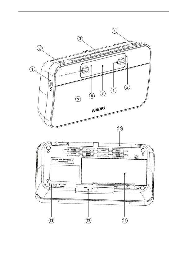
Overview of the main unit
EN
AE5200_05_UM_V1.1.indd 8 10/14/2009 10:35:17 AM

Other manuals for Philips AE5200/05

Related product manuals