EasyManua.ls Logo

Philips AUT3234 - Panoramica del Prodotto E Illustrazioni Per Linstallazione

Philips AUT3234
84 pages
Print Icon
To Next Page IconTo Next Page
To Next Page IconTo Next Page
To Previous Page IconTo Previous Page
To Previous Page IconTo Previous Page
Loading...
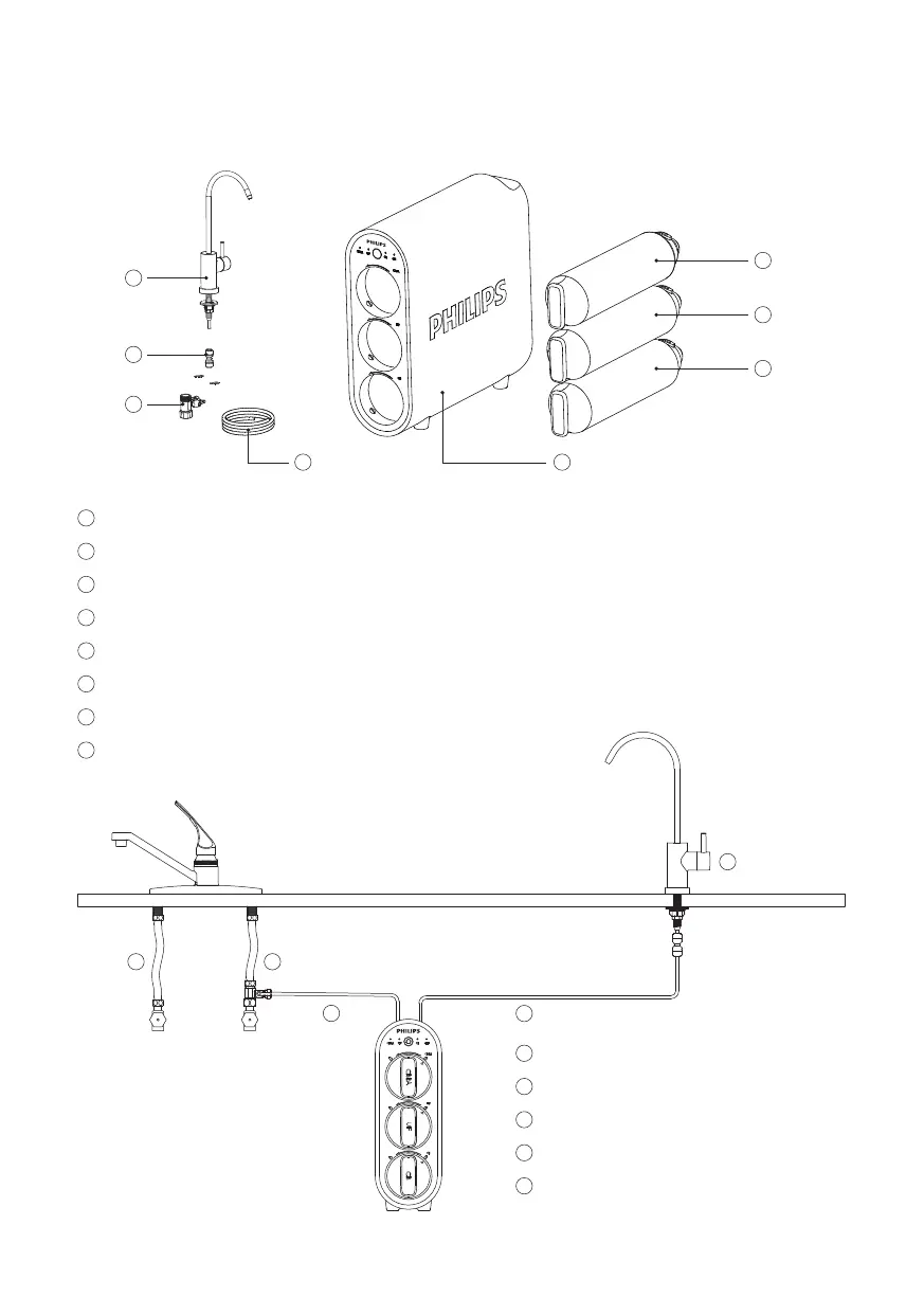
III. Panoramica del prodotto e illustrazioni per
linstallazione
Blocco carbone e filtro sedimento 2 in 1 filtro (CBPA)
1
Filtro con membrana a bra cava (UF)
2
Filtro a blocchi di carbone (CB)
3
Tubo 1/4” PE
5
Impianto
4
Calda
1
Fredda
2
Tubo uscita acqua filtrata
3
Rubinetto
5
Tubo ingresso acqua
4
Valvola a sfera a tre vie
6
Raccordo con connessione rapida
7
Rubinetto e accessori
8
50
1
2
3
45
1 2
3
4
5
7
6
8
CBPA
UF
CB

Table of Contents

Related product manuals