EasyManua.ls Logo

Philips CD692 - Start Up Procedure; Start Up Sequence

Philips CD692
36 pages
Print Icon
To Next Page IconTo Next Page
To Next Page IconTo Next Page
To Previous Page IconTo Previous Page
To Previous Page IconTo Previous Page
Loading...
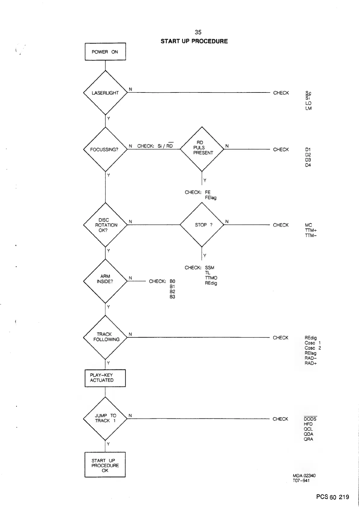
35
START
UP
PROCEDURE
N
CHECK
Sc
Si
LO
LM
Y
em»
N
CHECK:
Si/
RD
Y
RD
PULS
HECK
D1
PRESENT
CHEC
Sy
D3
04
¥
CHECK:
FE
FElag
DISC
N
N
ROTATION
CHECK
MC
OK?
TIM+
TTM-
Y
Y
CHECK:
SSM
Tl
N
TTMO
CHECK:
BO
REGi
BI
Edig
B2
83
Y
TRACK
N
;
FOLLOWING
CHECK
aoe
Cosc
2
RElag
RAD-
Y
RAD+
PLAY—KEY
ACTUATED
MPT!
N
Tack
:
CHECK
roots
QcL
QDA
QRA
Y
START
UP
PROCEDURE
OK
MDA.02340
T07-941
PCS
60
219

Related product manuals