EasyManua.ls Logo

Philips CD950 - Start up Procedure

Philips CD950
53 pages
Print Icon
To Next Page IconTo Next Page
To Next Page IconTo Next Page
To Previous Page IconTo Previous Page
To Previous Page IconTo Previous Page
Loading...
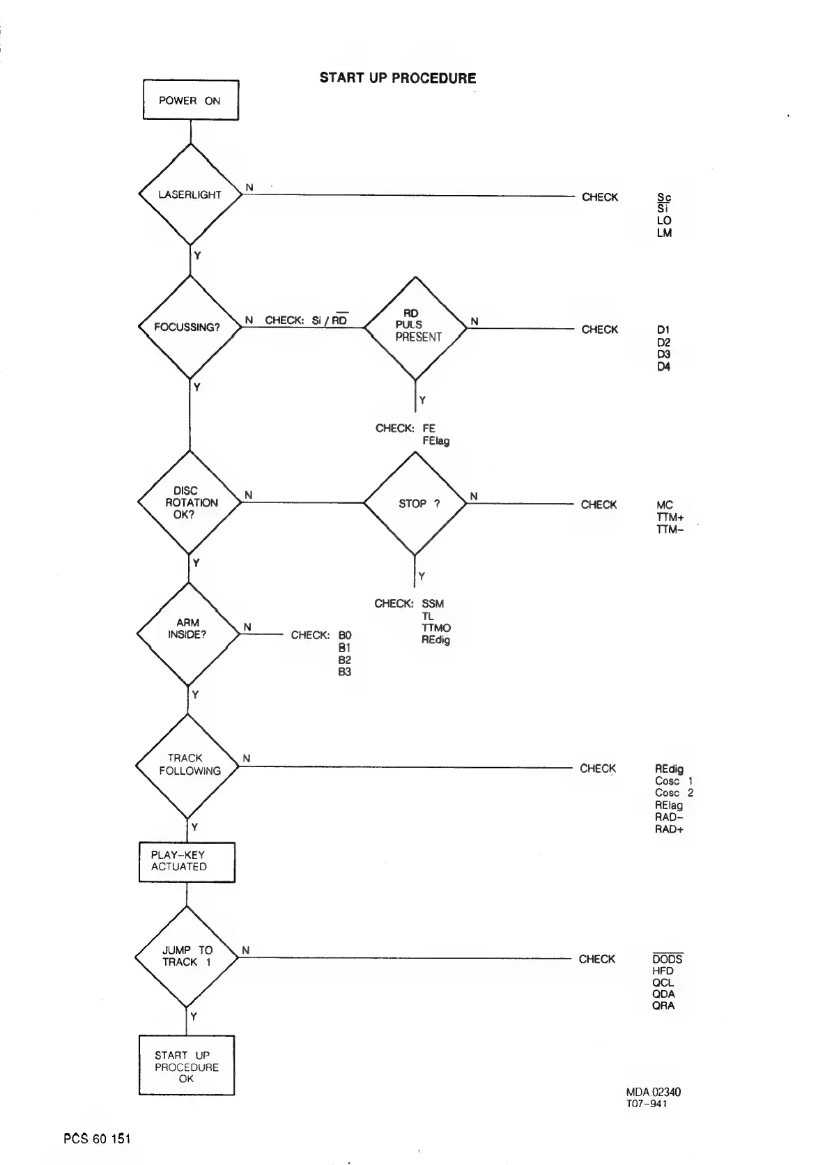
START
UP
PROCEDURE
|
row
om
|
be
CHECK
Sc
Si
LO
LM
Y
=
RD
N
CHECK:
Si/RD
PULS
N
CHECK
D1
PRESENT
D2
03
D4
Y
Y
CHECK:
FE
FElag
DISC
N N
ROTATION
CHECK
MC
OK?
TTM+
TTM-
Y
Y
CHECK:
SSM
TL
TT
N
CHECK:
80
AES
Bl
B2
B3
Y
TRACK
N
7
FOLLOWING
CHECK
Ape
:
Cose
2
RElag
RAD-
Y
RAD+
PLAY—KEY
ACTUATED
JUMP
TO
N
te
TRACK
1
CHECK
eee
QCL
QDA
QRA
Y
START
UP
PROCEDURE
OK
MDA.02340
T07-941
PCS
60
151

Related product manuals