EasyManua.ls Logo

Philips CD950 - Service Testprogram

Philips CD950
53 pages
Print Icon
To Next Page IconTo Next Page
To Next Page IconTo Next Page
To Previous Page IconTo Previous Page
To Previous Page IconTo Previous Page
Loading...
43
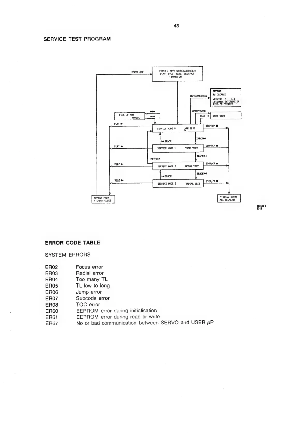
SERVICE
TEST
PROGRAM
PRESS
2
KEYS
SIMULTANEOUSLY:
PLAY,
STOP, NEXT,
PREVIOUS
+
POWER
ON
EEPROM
IS
CLEARED
WARNING
!!
CUSTOMER
INFORMATION
WILL
BE
CLEARED
!!
REPEAT+CANCEL
PICK
UP
ARM
_
MOVING
STOP/CP
SERVICE
MODE
0
a
TEST
seme
STOP/CP
q
E
SERVICE
MODE
1
FOCUS
TES’
=
oa
|
Ld
lee
oe
5
“i
PLAY
=a
eat
7]
:
SERVICE
MODE
3
RADIAL
TEST
S10#/C
NORMAL
PLAY
+
ERROR
CODES
DISPLAY
SHOWS
ALL
SEGMENTS
ERROR
CODE
TABLE
SYSTEM
ERRORS
ERO2
ERO3
ERO4
ERO5
ERO6
ERO7
ERO8
ER60
ER61
ER67
Focus
error
Radial
error
Too
many
TL
TL
low
to
long
Jump
error
Subcode
error
TOC
error
EEPROM
error
during
initialisation
EEPROM
error
during
read
or
write
No
or
bad
communication
between
SERVO
and
USER
uP

Related product manuals