EasyManua.ls Logo

Philips DCM105 - Block Diagram; Main Board; Display;Mcu Board

Philips DCM105
24 pages
Print Icon
To Next Page IconTo Next Page
To Next Page IconTo Next Page
To Previous Page IconTo Previous Page
To Previous Page IconTo Previous Page
Loading...
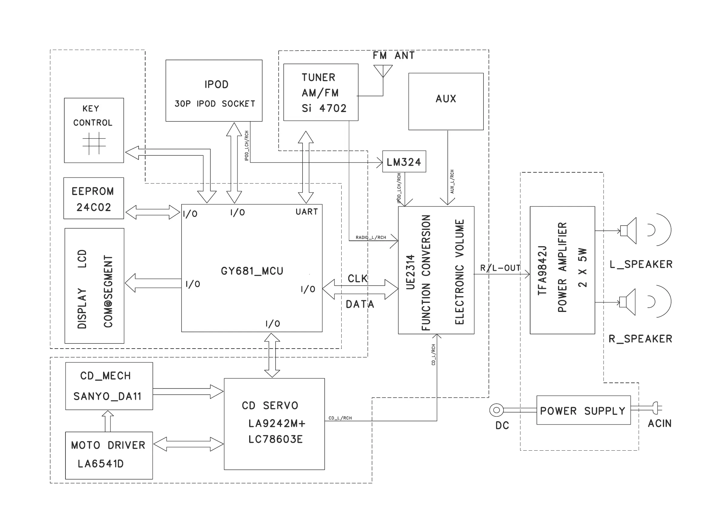
SET BLOCK DIAGRAM
3 - 1
3 - 1
ECO POWER BOARD
MAIN BOARD
DISPLAY MCU
BOARD

Related product manuals