EasyManua.ls Logo

Philips FW390 - Tapedeck Wiring

Philips FW390
20 pages
Print Icon
To Next Page IconTo Next Page
To Next Page IconTo Next Page
To Previous Page IconTo Previous Page
To Previous Page IconTo Previous Page
Loading...
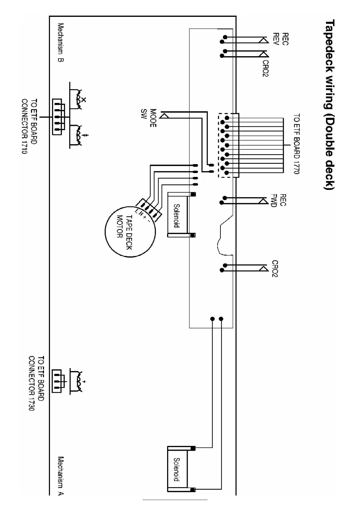
FW390(1907) - ETF6 TAPE MODULE WIRING DIAGRAM Page: 2 of 20
PDF created with pdfFactory trial version www.pdffactory.com

Related product manuals