EasyManua.ls Logo

Philips TDA2611A - Page 6

Philips TDA2611A
13 pages
Print Icon
To Next Page IconTo Next Page
To Next Page IconTo Next Page
To Previous Page IconTo Previous Page
To Previous Page IconTo Previous Page
Loading...
November 1982 6
Philips Semiconductors Product specification
5 W audio power amplifier TDA2611A
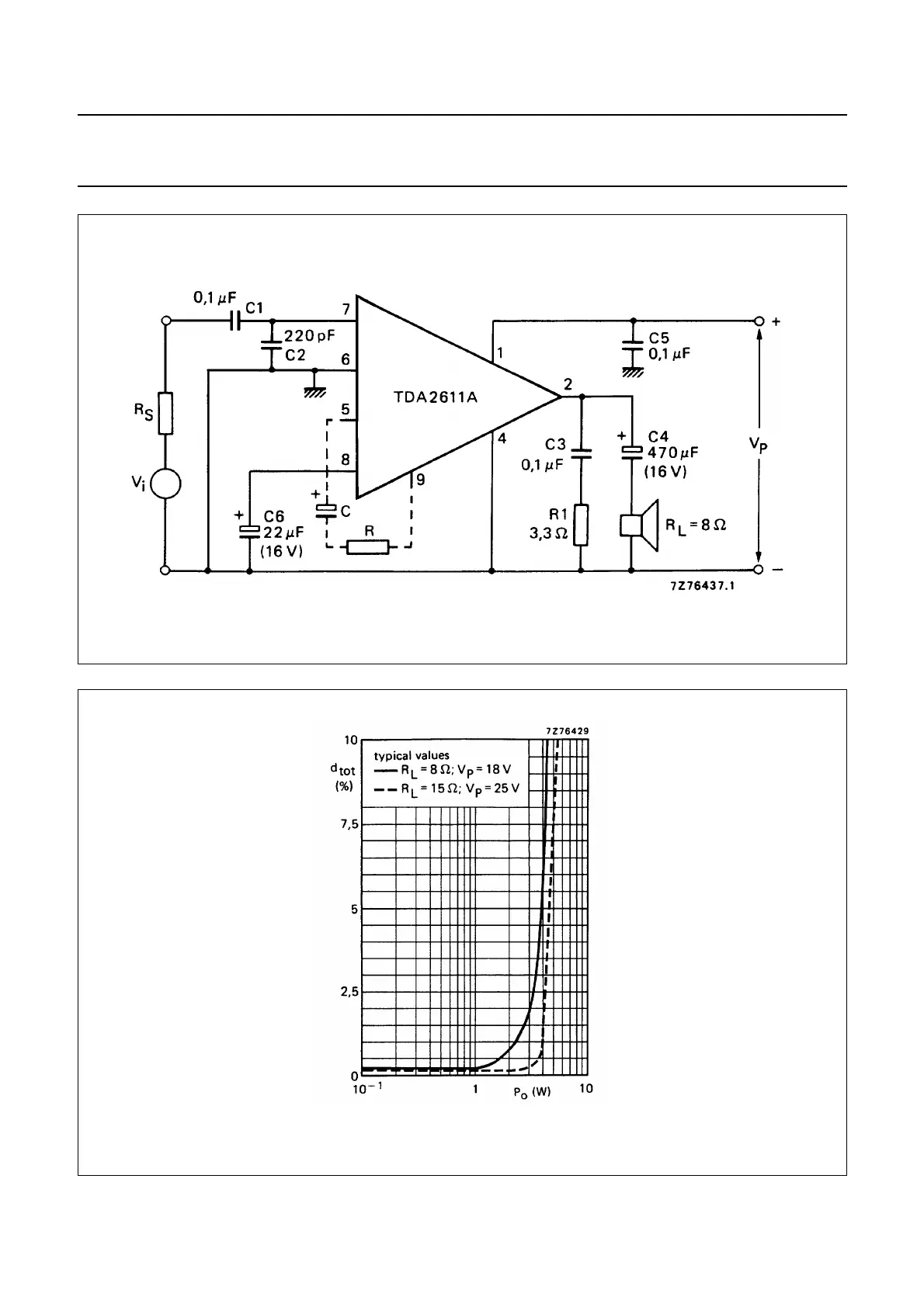
Fig.3 Test circuit; pin 3 not connected.
Fig.4 Total harmonic distortion as a function of output power.

Related product manuals