EasyManua.ls Logo

Phonic AM240 - Sección Principal

Phonic AM240
32 pages
Print Icon
To Next Page IconTo Next Page
To Next Page IconTo Next Page
To Previous Page IconTo Previous Page
To Previous Page IconTo Previous Page
Loading...
17
AM240/240D
Sección de Efectos Digitales
(solo en AM 240D)
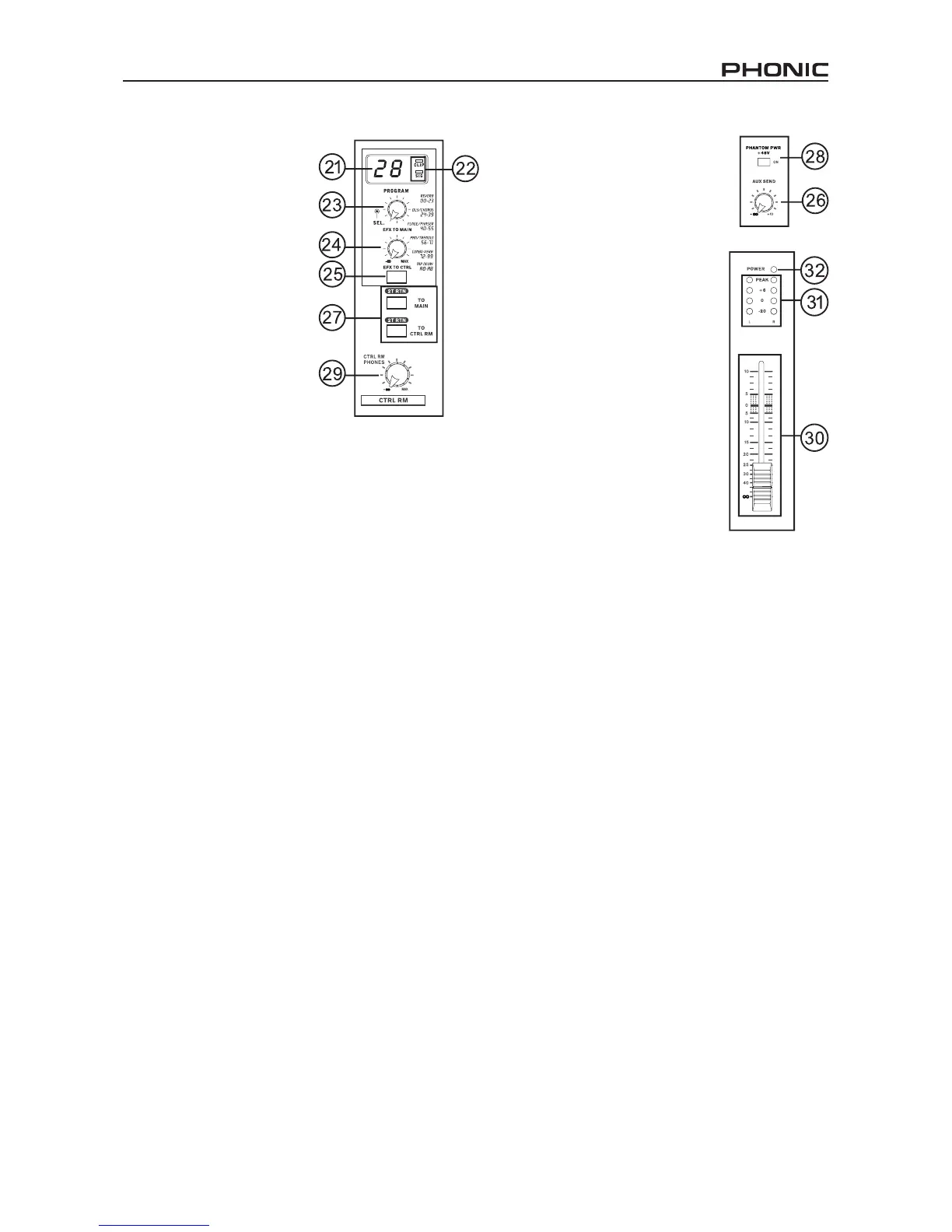
21. Display de Efectos Digitales
(VWHGLVSOD\QXPpULFRGH
dos dígitos muestra los
títulos de los diferentes
efectos que pueden aplicarse
al audio. Cuando giras el
control de programa, podrás
navegar de entre los diferentes
números de programas,
sin embargo, el display se
regresara a su programa
original si no se selecciona
dentro de pocos segundos.
Para una lista de los
efectos disponibles, por
IDYRUYHDOD7DEODGH (IHFWRV
Digitales.
22. Indicadores LED de Señal (Sig) y Clip (recorte)
Localizados dentro del display de efectos digitales,
HVWiQORVLQGLFDGRUHVGHVHxDOVLJ\UHFRUWHFOLS(O
/('GHVHxDO6LJVHLOXPLQDUDFXDQGRFXDOTXLHUVHxDO
VHDUHFLELGDSRUHOSURFHVDGRUGHHIHFWRV\HO/('GH
recorte (clip) se iluminara brevemente cuando la señal
VHDGLQiPLFDPHQWHUHFRUWDGD6LHO/('GHUHFRUWH
se ilumina continuamente, es recomendable disminuir
WRGRVORVFRQWUROHVRDOJXQRGHORVFRQWUROHVGH();HQ
cada canal de entrada para asegurar que el nivel de la
señal no sea muy alto.
23. Control de Programa
(VWHFRQWUROVHXWLOL]DSDUDVHOHFFLRQDUHQWUHORVYDULRV
efectos mostrados en el display. Girando este control
en sentido de las manecillas del reloj, permitirá a los
usuarios ascender dentro de un número elevado de
números de programa, y girarlo en sentido contrario
permitirá a los usuarios descender en programas de
número menor. Presionando este control aplicara el
efecto. Cuando se seleccione un efecto que necesite
el tap delay, presionando este control permitirá a
los usuarios seleccionar el tiempo de tap delay.
Al presionar el botón varias veces, el procesador de
efectos interpreta el tiempo entre las dos ultimas veces
que se oprimió y lo recuerda como el tiempo de delay,
hasta que el botón es presionado nuevamente. Cuando
VHVHOHFFLRQDHOHIHFWRGHWDSGHOD\XQSHTXHxR /('
se iluminara intermitentemente con la ventana de
display de efecto digital a los intervalos seleccionados.
24. Control “EFX to Main”
(VWHFRQWURODMXVWDUDHOQLYHOGHODVHxDOGH(IHFWR
Digital que será enviada al bus de mezcla principal
izquierdo y derecho y que será aplicada a tu
alimentación principal.
25. Botón “EFX to Ctrl”
(VWHERWyQVHSUHVLRQDUDSDUDSHUPLWLUTXHOD VHxDO
enviada desde el procesador digital de efectos sea
HQYLDGDDODVVDOLGDVGH&RQWURO5RRPSDUDSURSyVLWRV
de monitoreo.
Sección Principal
26. Control de Envío AUX
(solo en AM240)
(VWHFRQWURODMXVWDUDHOQLYHO¿QDOGHO
EXVGHPH]FOD();WRPDGRGHVGH
ORVFRQWUROHV$8;HQFDGDWLUDGH
canal), el audio el cual sera enviado a
ODVDOLGDGHHQYtR$8;
27. Botones de regreso 2T
(VWRVGRVERWRQHVSHUPLWLUDQDORV
usuarios decidir el destino de la
VHxDOUHFLELGDSRUODVHQWUDGDV5&$
GHUHJUHVR7(OERWyQ³WR0DLQ´
envia la señal a la mezcla principal,
PLHQWUDVTXHHOERWyQ³WR&WUO5P´
envía la señal al bus de mezcla de
&RQWURO5RRPSDUDPRQLWRUHR
28. Interruptor de la Fuente
Fantasma
Cuando el interruptor esta en la
posición ON, activa una fuente
IDQWDVPDGH9SDUDWRGDV
ambas entradas de micrófono,
permitiendo a los micrófonos de
condensador ser utilizados en
HVWRVFDQDOHV(QOD$0HOLQWHUUXSWRUGHODIXHQWH
fantasma esta en la parte trasera de la mixer, a un lado
del interruptor de encendido y apagado.
NB. La fuente fantasma deberá utilizarse en conjunto con
micrófonos balanceados. No actives la fuente fantasma si no
se utilizan micrófonos de condensador, esto para evitar causar
daño a los circuitos de la mixer.
29. Control Control Room / Phones
(VWHFRQWUROHVXWLOL]DGRSDUDDMXVWDUHOQLYHOGHODXGLR
de la alimentación de audífonos, para ser enviada a la
salida correspondiente, la cual puede ser utilizada junto
FRQDXGtIRQRVRFRPRXQDVDOLGDDX[LOLDU(VWHFRQWURO
también ajusta el nivel enviado para la salida de Control
5RRPSDUDXWLOL]DUVHHQPRQLWRUHRFRPRXQVLGH¿OOR
para utilizarse en otros dispositivos externos.
30. Fader Principal L-R
(VWHHVHOFRQWUROGHQLYHO¿QDOSDUDODDOLPHQWDFLyQGH
DXGLRHQYLDGDDODVDOLGDSULQFLSDO/5
31. Medidor de Nivel
Los medidores de nivel de la seria AM dan una
indicación precisa de cuando los niveles de audio
SULQFLSDOHV/5DOFDQ]DQFLHUWRVQLYHOHV6HVXJLHUH
para uso máximo del audio de configurar los varios
FRQWUROHVGHQLYHOGHWDOPDQHUDTXHORV/('VGHSLFR
se activen ocasionalmente (y tal vez es mejor si los
FRQ¿JXUDVGHWDOPDQHUDTXHHOQLYHOVH PDQWHQJDXQ
poco por debajo de eso). Ambas AM240 y AM240D
tienen un indicador de nivel de 4 segmentos.
32. Indicador de Encendido
(VWHLQGLFDGRUVHLOXPLQDUDFXDQGRHOYROWDMHGH OD
unidad este activado; en caso de que no estés muy
seguro de que esto esta sucediendo.

Related product manuals