EasyManua.ls Logo

Phonic MU1822X - Metering and Indicators; Faders and Equalization; Group, Main L;R Faders, and Graphic EQ

Phonic MU1822X
24 pages
Print Icon
To Next Page IconTo Next Page
To Next Page IconTo Next Page
To Previous Page IconTo Previous Page
To Previous Page IconTo Previous Page
Loading...
13
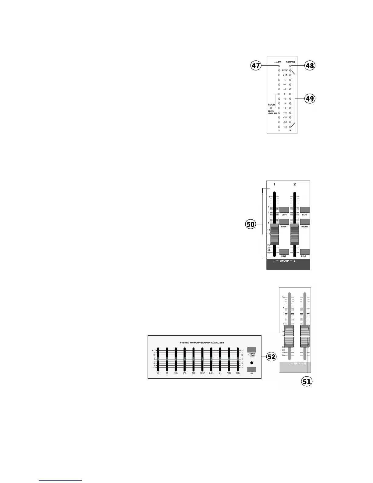
47. +48V インジケーター
ファンタム電源がオンの時、+48V インジケーターが点灯します。
48. POWER インジケーター
本体電源がオンの時、POWER インジケーターが点灯します。
49. レベルメーター
13 セグメント・デュアル・レベルメーターにより正確なレベルモニ
ターが可能です。レベルメーターが 0dB を表示している時、出力レ
ベルは+4dBu になるように設定されています。また出力信号レベル
が最大出力レベルの 6dB 下に到達すると搭載されているピークイン
ジケーターが点灯します。尚、レベルメーターの左横に位置する
SOLO インジケーターによりレベルメーターが表示している信号を
確認することが可能です。レベルメーターは SOLO インジケーター
が緑色に点灯している時はプリフェーダーの SOLO 信号を、赤色の
時はポストフェーダーの SOLO 信号をそれぞれ表示します。
50. GROUP 1 / 2 フェーダー
GROUP 1 / 2 の最終的な出力信号を 60mm リニアフェーダーで調
節します。フェーダーが一番上にある状態でグループ 1 / 2 信号を
10dB 増幅することができます。
またグループセクションに搭載された LEFTRIGHTSOLO によ
GROUP 信号をそれぞれメイン L 、メイン RCTRL RM /
PHONES に送ることが可能です。
51. MAIN L / R
メイン L / R 出力端子から出力される最終的な信号レベルを設定します。
フェーダーが一番上にある状態でメイン L / R 信号を 10dB 増幅することが
できます。
52. グラフィックイコライザー(MU1822X
搭載された 10 バンドイコライ
ザーにより設定された周波数
をそれぞれ±12dB の範囲で調
節可能です。また ON ボタンに
よりオン/オフを切替え、AUX
1 / MAIN スイッチによりイコ
ライザーが反映されるバスを選
択することができます。

Related product manuals