EasyManua.ls Logo

Pickering 50-670A - Page 45

Pickering 50-670A
64 pages
Print Icon
To Next Page IconTo Next Page
To Next Page IconTo Next Page
To Previous Page IconTo Previous Page
To Previous Page IconTo Previous Page
Loading...
Page 5.9
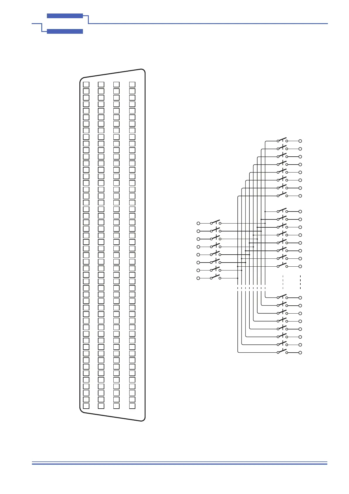
VERY HIGH DENSITY MULTIPLEXER CARD 50-670A
pickering
SECTION 5 - CONNECTOR INFORMATION
Figure 5.9 - 50-670A-022-24/8 Pinout
(200-pin Female LFH Connector Viewed From Front of Card)
151
152
153
154
155
156
157
158
159
160
161
162
163
164
165
166
167
168
169
170
171
172
173
174
175
176
177
178
179
180
181
182
183
184
185
186
187
188
189
190
191
192
193
194
195
196
197
198
199
200
150
149
148
147
146
145
144
143
142
141
140
139
138
137
136
135
134
133
132
131
130
129
128
127
126
125
124
123
122
121
120
119
118
117
116
115
114
113
112
111
110
109
108
107
106
105
104
103
102
101
51
52
53
54
55
56
57
58
59
60
61
62
63
64
65
66
67
68
69
70
71
72
73
74
75
76
77
78
79
80
81
82
83
84
85
86
87
88
89
90
91
92
93
94
95
96
97
98
99
100
50
49
48
47
46
45
44
43
42
41
40
39
38
37
36
35
34
33
32
31
30
29
28
27
26
25
24
23
22
21
20
19
18
17
16
15
14
13
12
11
10
9
8
7
6
5
4
3
2
1
1.1
1.2
2.1
2.2
3.1
3.2
4.1
4.2
5.1
5.2
6.1
6.2
7.1
7.2
8.1
8.2
9.1
9.2
10.1
10.2
11.1
11.2
12.1
12.2
13.1
13.2
14.1
14.2
15.1
15.2
16.1
16.2
17.1
17.2
18.1
18.2
19.1
19.2
20.1
20.2
21.1
21.2
22.1
22.2
23.1
23.2
24.1
24.2
C1
C2
1.3
1.4
2.3
2.4
3.3
3.4
4.3
4.4
5.3
5.4
6.3
6.4
7.3
7.4
8.3
8.4
9.3
9.4
10.3
10.4
11.3
11.4
12.3
12.4
13.3
13.4
14.3
14.4
15.3
15.4
16.3
16.4
17.3
17.4
18.3
18.4
19.3
19.4
20.3
20.4
21.3
21.4
22.3
22.4
23.3
23.4
24.3
24.4
C3
C4
1.5
1.6
2.5
2.6
3.5
3.6
4.5
4.6
5.5
5.6
6.5
6.6
7.5
7.6
8.5
8.6
9.5
9.6
10.5
10.6
11.5
11.6
12.5
12.6
13.5
13.6
14.5
14.6
15.5
15.6
16.5
16.6
17.5
17.6
18.5
18.6
19.5
19.6
20.5
20.6
21.5
21.6
22.5
22.6
23.5
23.6
24.5
24.6
C5
C6
1.7
1.8
2.7
2.8
3.7
3.8
4.7
4.8
5.7
5.8
6.7
6.8
7.7
7.8
8.7
8.8
9.7
9.8
10.7
10.8
11.7
11.8
12.7
12.8
13.7
13.8
14.7
14.8
15.7
15.8
16.7
16.8
17.7
17.8
18.7
18.8
19.7
19.8
20.7
20.8
21.7
21.8
22.7
22.8
23.7
23.8
24.7
24.8
C7
C8
1.1
2.1
C1
24.1
Isolation
Switch
1.2
2.2
C2
24.2
1.3
2.3
C3
24.3
1.4
2.4
C4
24.4
1.5
2.5
C5
24.5
1.6
2.6
C6
24.6
1.7
2.7
C7
24.7
1.8
2.8
C8
24.8
24-Channel, 8-Pole Multiplexer