EasyManua.ls Logo

PIKO Digi 1 - Page 6

PIKO Digi 1
24 pages
Print Icon
To Next Page IconTo Next Page
To Next Page IconTo Next Page
To Previous Page IconTo Previous Page
To Previous Page IconTo Previous Page
Loading...
Desk Top Trafo T4
72 VA
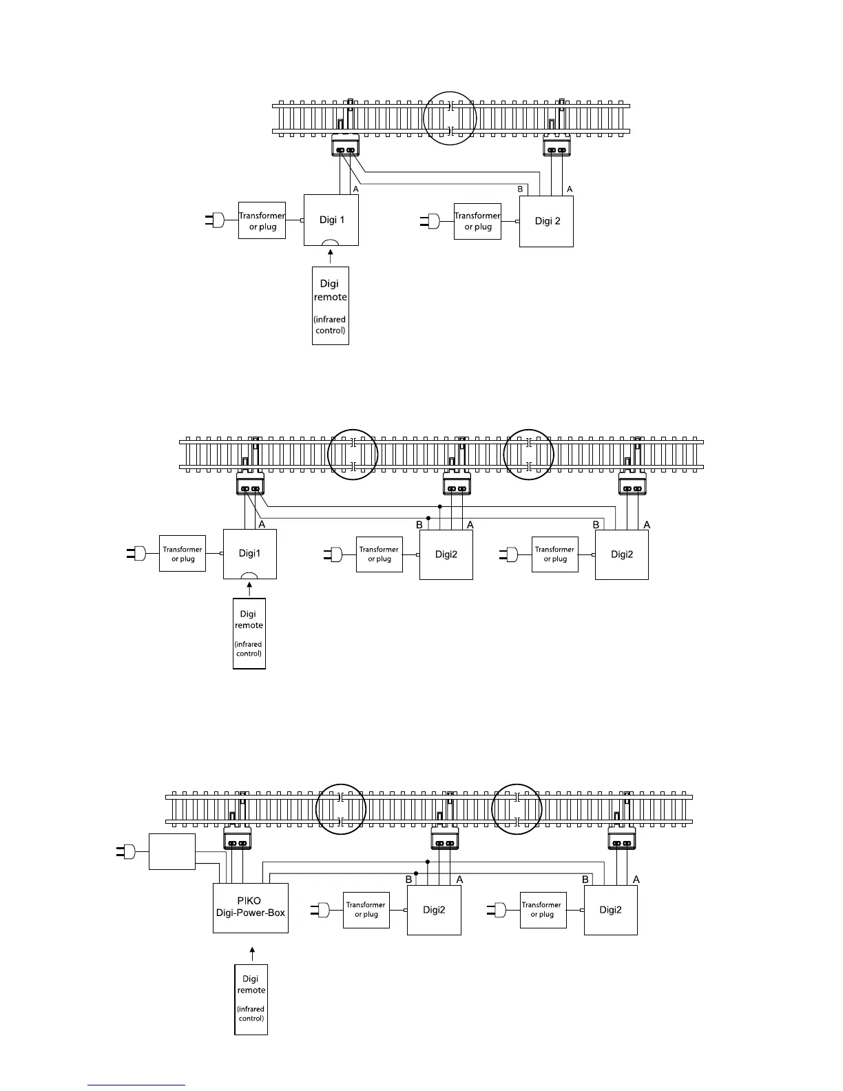
If it is desired to extend further, the PIKO Digi Power Box comes into play:
PIKO Digi 1 extended with two Digi 2 and three isolated rail circuits (maximal level of
construction; 10 PIKO Digi 2):
Conversion to PIKO Digi Power Box
6
PIKO Digi 1 extended with PIKO Digi 2 and two isolated rail circuits:
isolating track connection
isolating track connection isolating track connection
isolating track connection isolating track connection

Related product manuals