EasyManua.ls Logo

Polaroid Land SX-70

Polaroid Land SX-70
54 pages
To Next Page IconTo Next Page
To Next Page IconTo Next Page
To Previous Page IconTo Previous Page
To Previous Page IconTo Previous Page
Loading...
the subject passes through the camera lens and
is reected by the viewing mirror (on the inside
surface of the mirror cover) to the Fresnel viewing
screen.
The entire subject image is now reproduced
on the viewing screen. At this point, viewnder
optics must be employed for focusing. The optics
must transfer the image from the viewing screen
to the eye (done by the parabolic mirror and the
viewing mirror) and must present the image in
a fairly sharp contrast to permit proper focusing
(done by the eye lens and parabolic miror).
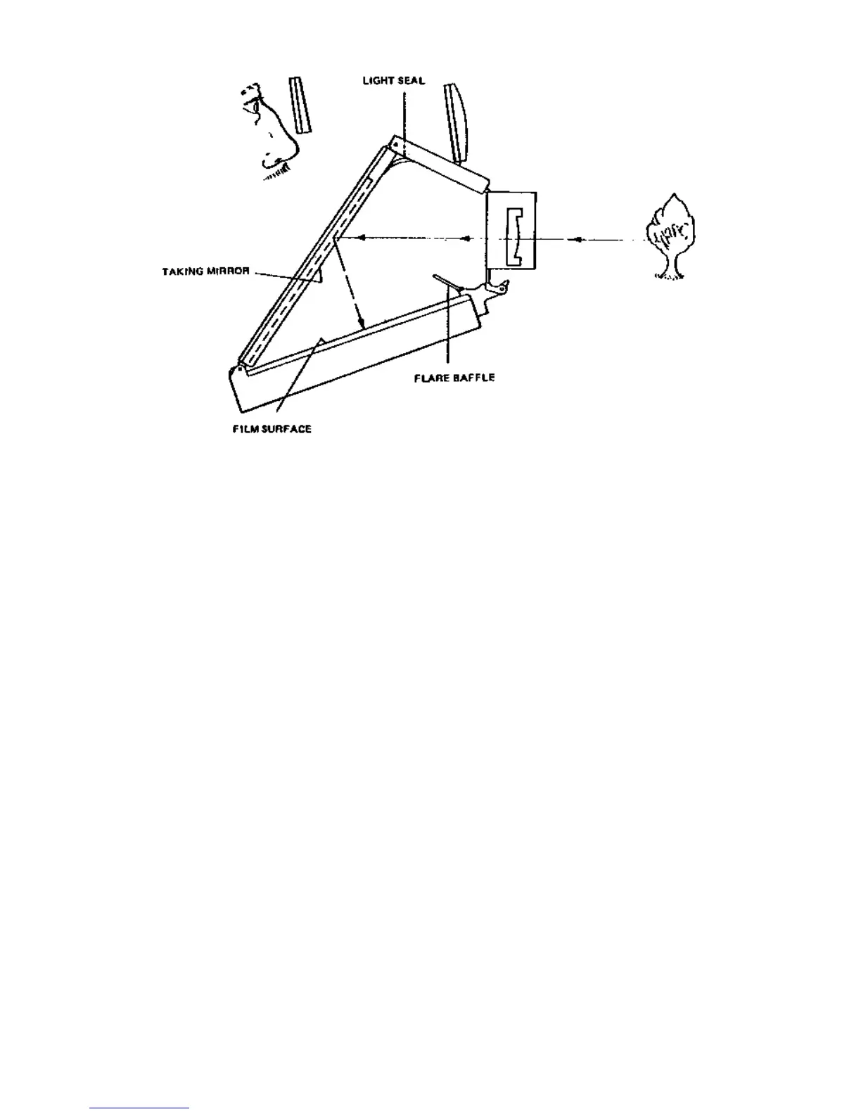
Figure 2-2 Viewnder optics (exposing)
The special Fresnel (pronouced Freh-nell)
screen is employed to enhance the viewing
image by increasing the brightness and dention.
If a matte white surface were substituted for the
Fresnel screen, an image would still be visible.
However, the light rays striking nearest the
corners of the screen meet the screen at a more
oblique angle than the rays striking near the
center. At this greater angle, a larger percentage
of the light is dispersed and less light is returned
to the viewer. Thus, on a matte-screen image the
corners would appear darken than the center.
The Fresnel screen is designed to overcome this
problem.
1. Fresnel (Figures 2-3 A and 2-3 B)

Table of Contents

Related product manuals